PROTIPOŽÁRNÍ DVEŘE NOVOPORTA PREMIO

Protipožární dveře ve vysoce kvalitním silném falcu pro všechny požadavky

Novoferm Protipožární dveře NovoPorta Premio s vysoce kvalitním silným falcem jsou k dispozici v třídách požární ochrany EI2 30, EI2 60 a EI2 90) pro vnitřní i vnější použití.


Útulná silná falcová vrata NovoPorta Premio Multifunkční ocelová vrata byla vyvinuta speciálně pro evropský trh. Díky důsledně propracovanému vzhledu s kvalitním silným falcem a 64 mm silným dveřním křídlem jsou tyto dveře ideální pro všechny požadavky v moderní výstavbě nemovitostí.


Vysoce funkční ocelové dveře NovoPorta Premio s vysoce kvalitním silným falcem jsou k dispozici jako protipožární (ažEI2 90), kouřotěsné, bezpečnostní (až RC 4), zvukově izolační (až RW = 53 dB), víceúčelové a dokonce i neprůstřelné (FB 4, VPAM 6) - pro jednotný vzhled dveří v celém objektu.


Mnoho výhod montáže U řady dveří si můžete vybrat z mnoha rychlých, snadných a čistých způsobů montáže a možností zasypání rámu (montáž s falcovými šrouby, zasypání protipožární pěnou, ideální řešení suché výstavby, rámy s protipožární ochranou z výroby atd.).

Porovnání a vlastnosti dveří

Srovnání protipožárních dveří NovoPorta Premio
Označení dveří

Silný vroubek

T30 (EI2 30)

EI2 60

T90 (EI2 90)

RS

Zvuková izolace

RC2

RC3

RC4

T30-1/EI2 30-1 Premio

Klapka 1-listá

-

-

-

-

-

T30-1/EI2 30-1
Premio

Dveře 1-křídlé

-

-

-

-

-

-

-

EI2 30-1 Premio GE oversize

Dveře 1-křídlové

-

-

-

-

-

T30-2/EI2 30-2 Premio

Dvoukřídlé dveře

-

-

-

-

-

-

EI2 30-2 Premio GE oversize

Dveře 2-křídlé

-

-

-

-

-

EI2 60-1 Premio

Dveře 1-křídlé

-

-

-

-

-

-

EI2 60-1 Premio GE oversize

Dveře 1-křídlové

-

-

-

EI2 60-2 Premio

Dvoukřídlé dveře

-

-

-

-

-

-

EI2 60-2 Premio GE oversize

Dveře 2-křídlé

-

-

-

-

T90-1/EI2 90-1 Premio

Klapka 1-listá

-

-

-

-

-

-

-

T90-1/EI2 90-1 Premio

Dveře 1-křídlové

-

-

-

-

-

-

EI2 90-1 Premio GE oversize

Dveře 1-křídlové

-

-

-

-

T90-2/EI2 90-2 Premio

Dvoukřídlé dveře

-

-

-

-

-

-

EI2 90-2 Premio GE oversize

Dveře 2-křídlé

-

-

-

-

PODROBNOSTI O NOVOPORTA PREMIO EI 30

PODROBNOSTI O NOVOPORTA PREMIO EI 30


Kování: standardně 3dílné konstrukční závěsy s kuličkovými ložiskovými kroužky. Dva závěsy na křídlo (> výška BRM 2 500 mm (> LD 2 458 mm) tři závěsy) ve standardním bílém základním nátěru podobném RAL 9016; volitelně k dispozici v nerezové oceli, jako 3D stavitelné závěsy z oceli a nerezové oceli nebo jako štíhlý 3D projektový závěs z nerezové oceli (nutný horní zavírač dveří). Pro jednokřídlé dveře do max. velikosti BRM 1 250 x 2 250 mm (LD 1 166 x 2 208 mm), jeden konstrukční závěs a jeden pružinový závěs. U dvoukřídlých dveří dva konstrukční závěsy na každé křídlo.
Všechny výšky BRM > 2 500 mm (> LD 2 458 mm) standardně se třemi konstrukčními závěsy na křídlo. Dva zajišťovací čepy na křídlo dveří. Výměnný profilový cylindrický zámek s černou kulatou pákovou sadou uloženou na pevném otočném ložisku. Profilová cylindrická vložka pro vnitřní dveře na stavbě (délka 85 mm, 35/50 mm). Součástí dodávky pro vnější dveře ve formě atrapy cylindrické vložky. Jednokřídlé dveře s vnitřní výztuhou pro horní zavírač na straně závěsu ve standardním provedení. Montážní rozměry > 1 250 x 2 250 mm (> LD 1 166 x 2 208 mm), jakož i všechny výšky dveří nad 2 500 mm (> LD 2 458 mm), standardně vybavené horním zavíračem dveří Geze TS 4000 F nebo dormakaba TS 89 F (na vyžádání za stejnou cenu k dispozici také s vodicí lištou zavírače dveří Novoferm NFGS 55).


Navíc pro dvoukřídlé dveře: Dva horní zavírače dveří Geze TS 4000 F nebo dormakaba TS 89 F a koordinátor dveří. Zapuštěný středový doraz s těsněním středového záklonu. Neaktivní křídlo s vroubkovaným hnacím šroubem, uzamykání nahoru (volitelně nahoru a dolů).


Rámy: Standardní rohový rám s třístranným těsnicím profilem EPDM bez podlahové prohlubně, tloušťka 2,0 mm, šířka zrcadla 50 mm, volitelný okolní rám, dvoudílný okolní rám profilu 2140B, protirám a blokový rám pro zapuštěné napojení na stěnu nebo blokový rám pro montáž před stěnu.


Prahy: Standardně A v jedné rovině s podlahou, volitelně B 1, B 2, B 3, BE-2 se čtyřstranným okolním rámem nebo C 2 se spodním dorazem a těsněním nebo těsnicí prahy RS 1 se spouštěným podlahovým těsněním (k dispozici také jako RS1V se zpožděným spouštěním), dvojitý práh RS 1 nebo hrbový práh RS 2 s nájezdovým těsněním.


Povrchy: Dveřní křídlo a rám jsou pozinkované a opatřené základním nátěrem (práškovou barvou) podobným RAL 9016. Na přání je k dispozici také dveřní křídlo a rám s práškovou barvou v barvě RAL podle vašeho výběru.

 

NOVOPORTA PREMIO EI2 30-1

Vodorovná část, 1 panel

Vodorovná část, 2panelová

DIN vlevo / DIN vpravo

 

NEWPORT PREMIUM EI2 30

Vertikální řez


Svislá část s horním panelem

NA VYŽÁDÁNÍ TAKÉ S:

  • Světlo nad panelem/panelové světlo
  • Ohnivzdorné zasklení (vždy je vyžadován zavírač horních dveří)
  • Ochrana proti kouři podle EN 1634-3 se spodním těsněním (RS 1/RS1V) nebo s kyvným prahem s překrytím (RS 2) a zavíračem horních dveří.
  • Zvuková izolace (neplatí pro verzi s horním panelem)
    • Zkoušeno podle EN ISO 140-3, posouzeno podle EN ISO 717-1 (laboratorní hodnota pro plné křídlo a práh RS 1/RS1V).
    • pro jednokřídlé prvky do BRM 1 375 x 2 500 mm (LD 1 291 x 2 458 mm) 40 dB RwP
    • pro jednokřídlé prvky v nadměrné velikosti do BRM 1 500 x 3 000 mm (LD 1 416 x 2 958 mm) 39 dB RwP
    • pro dvoukřídlé prvky do BRM 2 500 x 2 500 mm (LD 2 416 x 2 458 mm) 39 dB RwP
    • pro dvoukřídlé prvky v nadměrné velikosti do BRM 3 000 x 3 000 mm (LD 2 916 x 2 958 mm) 37 dB RwP
  • RC 2* a RC 3* odolné proti vloupání - oboustranně testované podle EN 1627 - do BRM 2 500 x 2 500 mm (LD 2 416 x 2 458 mm) BRM do velikosti 3 000 x 3 000 mm (LD 2 916 x 2 958 mm) RC 2 ve zkušebním postupu


  • RC 4* odolný proti vloupání - oboustranně zkoušený podle EN 1627 - pouze jako jednokřídlé provedení Plné křídlo do velikosti BRM 1 375 x 2 500 mm (LD 1 291 x 2 458 mm)

PŘEHLED VAŠICH PLUSOVÝCH BODŮ

  • Jednokřídlé a dvoukřídlé ocelové protipožární dveře pro vnitřní i vnější použití
  • Požární odolnost testovaná podle EN 1634-1 a schválená stavebními úřady podle DIN 4102 nebo evropského technického posouzení ETA-17/0443.
  • Protipožární pásy na třech stranách a na středovém záklonu aktivního křídla.
  • Dveřní křídlo a rám pozinkované a opatřené základním nátěrem (práškovou barvou) podobným RAL 9016.
  • Vratové křídlo zalomené na třech stranách se silným zalomením, tloušťka 64 mm, tloušťka plechu 1,0 mm - volitelně do velikosti BRM 1 375 x 2 500 mm (LD 1 291 x 2 458 mm) nebo 2 500 x 2 500 mm (LD 2 416 x 2 458 mm) také v tloušťce 1,5 mm.
PODROBNOSTI O NOVÉ CENĚ EI 60

PODROBNOSTI O NEWPORT PREMIO EI2 60


Kování: standardně 3dílné konstrukční závěsy s kuličkovými ložiskovými kroužky. Dva závěsy na křídlo ve standardním bílém základním nátěru podobném RAL 9016; na přání jsou k dispozici také v nerezové oceli, jako 3-D stavitelné závěsy z oceli a nerezové oceli nebo jako štíhlé 3-D projektové závěsy z nerezové oceli (u projektových závěsů je vždy vyžadován zavírač dveří). Pro jednokřídlé dveře do max. velikosti BRM 1 000 x 2 125 mm (LD 916 x 2 083 mm), jeden konstrukční závěs a jeden pružinový závěs. U dvoukřídlých dveří dva konstrukční závěsy na každé křídlo. Dva zajišťovací čepy na každé dveřní křídlo. Výměnný zámek PZ s černou sadou kulaté páky s pevným otočným ložiskem. Profilová vložka pro vnitřní dveře na stavbě (délka 85 mm, 35/50 mm). Součástí dodávky pro vnější dveře ve formě atrapy cylindrické vložky. Jednokřídlé dveře s vnitřní výztuhou pro horní zavírač na straně závěsu ve standardním provedení. Stavební rozměry > 1 000 x 2 125 mm (> LD 916 x 2 083 mm) s horním zavíračem dveří Geze TS 4000 F nebo dormakaba TS 89 F ve standardní výbavě (na vyžádání za stejnou cenu také s posuvným kanálovým zavíračem dveří Novoferm NFGS 55).


Navíc pro dvoukřídlé dveře: Dva horní zavírače dveří Geze TS 4000 F nebo dormakaba TS 89 F a koordinátor dveří. Zapuštěný středový doraz s těsněním středového záklonu. Neaktivní křídlo s vroubkovaným hnacím šroubem s aretací směrem nahoru a dolů.


Rámy: Standardně: Rohový rám s třístranným těsnicím profilem CR bez podlahové prohlubně, tloušťka 2,0 mm, šířka zrcadla 50 mm, volitelný okolní rám, dvoudílný okolní rám profilu 2140B, protirám a blokové rámy pro zapuštěné napojení na stěnu.


Prahy: Standardně A v jedné rovině s podlahou, volitelně B1, B2, B3, BE-2 se čtyřstranným rámem nebo C2 se spodním dorazem nebo těsnicí prahy RS1 se spouštěným podlahovým těsněním (k dispozici také jako RS1V se zpožděným spouštěním) nebo dvojitý práh RS1.


Povrchy: Dveřní křídlo a rám jsou pozinkované a opatřené základním nátěrem (práškovou barvou) podobným RAL 9016. Na přání je k dispozici také dveřní křídlo a rám s práškovou barvou v barvě RAL podle vašeho výběru.

 

NOVOPORTA PREMIO EI2 60-1

Vodorovná část, 1 panel

Vodorovná část, 2panelová

Vertikální řez

DIN vlevo / DIN vpravo

NA VYŽÁDÁNÍ TAKÉ S:

  • Ohnivzdorné zasklení (vždy je vyžadován zavírač horních dveří).
  • Ochrana proti kouři podle normy EN 1634-3 se spodním těsněním podlahy (RS1/RS1V)
  • Zvuková izolace - testováno podle EN ISO 140-3, posouzeno podle EN ISO 717-1 (laboratorní hodnota pro plné křídlo a práh RS1/RS1V).
  • pro jednokřídlé prvky do BRM 1 375 x 2 500 mm (LD 1 291 x 2 458 mm) 35 dB RwP
  • pro dvoukřídlé prvky do BRM 2 500 x 2 500 mm (LD 2 416 x 2 458 mm) 35 dB RwP
  • RC 2 odolný proti vloupání - oboustranně testováno podle EN 1627 - do BRM 2 500 x 2 500 mm (LD 2 416 x 2 458 mm)
  • RC 3 odolný proti vloupání - oboustranně testováno podle EN 1627 - do BRM 2 500 x 2 500 mm (LD 2 416 x 2 458 mm).


  • RC 4 odolný proti vloupání - oboustranně testovaný podle EN 1627 - pouze jako jednokřídlý typ Plné křídlo do BRM 1 375 x 2 500 mm (LD 1 291 x 2 458 mm)

PŘEHLED VAŠICH PLUSOVÝCH BODŮ

  • Jednokřídlé a dvoukřídlé ocelové protipožární dveře pro vnitřní i vnější použití
  • Vysoce požárně odolné, testované podle normy DIN EN 1634-1 a schválené stavebními úřady podle evropského technického posouzení ETA-17/0443.
  • Dveřní křídlo s třístranným falcem se silným falcem, tloušťka 64 mm, tloušťka plechu 1,0 mm.
  • Protipožární pásy na 3 stranách a na středovém zářezu aktivního křídla
  • Dveřní křídlo a rám pozinkované a opatřené základním nátěrem (práškovým) podobným RAL 9016.
PODROBNOSTI O NOVÉ CENĚ EI 90

PODROBNOSTI O NEWPORT PREMIO EI2 90


Kování: standardně 3dílné konstrukční závěsy s kuličkovými ložiskovými kroužky. Dva závěsy na křídlo ve standardním bílém základním nátěru podobném RAL 9016; na přání jsou k dispozici v nerezovém provedení, jako 3D stavitelné závěsy z oceli a nerezové oceli nebo jako štíhlé 3D objektové závěsy z nerezové oceli. Dva zajišťovací čepy na křídlo dveří do výšky BRM 2 125 mm (LD 2 083 mm), od výšky 2 126 mm (LD 2 084 mm) tři zajišťovací čepy. Standardně vybaveno horním zavíračem dveří Geze TS 4000 F nebo dormakaba TS 89 F (na vyžádání za stejnou cenu lze dodat také zavírač dveří s posuvným kanálem Novoferm NFGS 55). Výměnný profilový cylindrický zámek s černou kulatou pákovou sadou s pevným otočným ložiskem. Profilová cylindrická vložka pro vnitřní dveře na stavbě (délka 85 mm, 35/50 mm). Součástí dodávky pro vnější dveře ve formě atrapy cylindrické vložky.


Navíc pro dvoukřídlé dveře: Druhý horní zavírač dveří Geze TS 4000 F nebo dormakaba TS 89 F a koordinátor dveří. Zapuštěný středový doraz s těsněním středového záklonu. Neaktivní křídlo s vroubkovaným hnacím šroubem, uzamykání nahoru a dolů.


Rámy: Standardní rohový rám s třístranným těsnicím profilem CR bez podlahové prohlubně, tloušťka 2,0 mm, šířka zrcadla 50 mm, volitelný okolní rám, dvoudílný okolní rám profilu 2140B, protirám a blokový rám pro zapuštěné napojení na stěnu.


Prahy: Standardně A v jedné rovině s podlahou, volitelně B 1, B 2, B 3, BE-2 se čtyřstranným okolním rámem nebo C 2 se spodním dorazem nebo těsnicí prahy RS 1 se spouštěným podlahovým těsněním (také jako zpožděné spouštění RS1V) nebo dvojitý práh RS 1.


Povrchy: Dveřní křídlo a rám pozinkované a opatřené základním nátěrem (práškovou barvou) podobným RAL 9016. Na přání je k dispozici také dveřní křídlo a rám s designovým povrchem Novoferm.

 

NOVOPORTA PREMIO EI2 90-1

Vodorovná část, 1 panel

Vodorovná část, 2panelová

Vertikální řez

DIN vlevo / DIN vpravo

NA VYŽÁDÁNÍ TAKÉ S:

  • Ohnivzdorné zasklení
  • Ochrana proti kouři podle EN 1634-3 se spodním těsněním (RS 1/RS1V)
  • Zvuková izolace - testováno podle EN ISO 140-3, posouzeno podle EN ISO 717-1 (laboratorní hodnota pro plné křídlo a práh RS 1/RS1V).
    • pro jednokřídlé a dvoukřídlé prvky po 39 dB RwP
  • Odolnost proti vloupání RC 2 - oboustranně testováno podle normy EN 1627 - plné křídlo do BRM 2 500 x 2 500 mm (LD 2 416 x 2 458 mm)


  • RC 3 odolný proti vloupání - oboustranně testováno podle EN 1627 - plné křídlo do BRM 2 500 x 2 500 mm (LD 2 416 x 2 458 mm)

PŘEHLED VAŠICH PLUSOVÝCH BODŮ

  • Jednokřídlé a dvoukřídlé ocelové protipožární dveře pro vnitřní i vnější použití
  • Požární odolnost testovaná podle EN 1634-1 a schválená stavebními úřady podle DIN 4102 nebo evropského technického posouzení ETA-17/0443.
  • Protipožární pásy na 3 stranách a na středovém záklonu aktivního křídla.
  • Dveřní křídlo se třemi stranami a silným falcem, tloušťka 64 mm, tloušťka plechu 1,0 mm (volitelně 1,5 mm).
  • Dveřní křídlo a rám pozinkované a opatřené základním nátěrem (práškovou barvou) podobným RAL 9016.

Highlights Multifunkční ocelové dveře

Tato animace ukazuje hlavní výhody a možnosti multifunkčního systému Novoferm.ocelových dveříjsou prezentovány ve vizuálně přitažlivé a zhuštěné podobě.

Další animace naleznete na adrese

https://www.youtube.com/NovofermVideos

VYBAVENÍ

POVRCHY A KONSTRUKCE

POVRCHY A KONSTRUKCE


PREMIO PŘINÁŠÍ OBJEKTU BARVY Dveře vytvářejí příjemný vstup. Proto společnost Novoferm klade velký důraz na vytvoření kvalitního dojmu pomocí dopravního bílého práškového lakování. Široká škála designových variant a barev RAL dle vlastního výběru navíc vybízí k nastavení dalších harmonických akcentů, které rovněž dodají budově nezaměnitelný charakter. Provedení lze zvolit různá pro vnitřní a vnější stranu nebo pro každé dveřní křídlo.

Dokonce i závěsy mohou být na přání barevně sladěny s designem dveří.

Exkluzivní vzhled se sofistikovanou technologií Novoferm - výsledkem je harmonický celkový obraz, který na pozorovatele zapůsobí.

Dveře tak mohou být opticky integrovány do stěny, a to s obrovskou škálou designových možností.

U společnosti Novoferm se tento sortiment skládá z dveřního křídla, vzhledu rámu a závěsů, které mohou být navrženy jako celek nebo různými způsoby.

Vzniká tak dokonalá souhra mezi vzhledem a bezpečností, která je působivá v každém ohledu.

Vysoce kvalitní základní nátěr Novoferm v dopravní bílé (RAL 9016) vypadá velmi atraktivně již při dodání.

Mnozí majitelé budov ji považují za natolik vizuálně přitažlivou, že v montážních situacích, kde nehrozí riziko koroze, volí právě dopravní bílou barvu.

Díky matnému nebo lesklému bezbarvému laku, který je odolný proti poškrábání, můžete Premio navrhnout různými atraktivními způsoby.


Od industriálního šarmu až po místnosti s útulnou atmosférou: Vnější i vnitřní stranu, jednotlivá dveřní křídla a dokonce i závěsy lze přizpůsobit individuálním designům.

Správné řešení pro každé prostředí:

Nabízíme širokou škálu atraktivních designů s matným (M) nebo lesklým (H) povrchem z bezbarvého laku.

ZASKLÍVÁNÍ

ZASKLÍVÁNÍ

Volba prosklení má zásadní vliv na vizuální efekt dveří, ale také stále více odpovídá zvyšujícím se požadavkům na energetickou účinnost. V současné době jsme jediným výrobcem, který u víceúčelových dveří Premio a Plano nabízí výhradně prosklení ISO s výrazně lepším součinitelem prostupu teplaUg 1,1 až 1,3 W/(m2K), v závislosti na typu zvoleného skla podle normy DIN EN ISO 10077-1.


Vzávislosti na konfiguraci si můžete vybrat NovoPorta Premio MZ s následujícími typy zasklení (viz tabulka): Standardní a speciální zasklení jako sklo ISO se zvláště nízkými součiniteli prostupu tepla v souladu s normou EN ISO 10077-1. Samozřejmě je k dispozici také bezpečnostní sklo LSG nebo tvrzené bezpečnostní sklo.




Kromě toho ornamentální skla ve struktuře float skla ve třech různých provedeních:Mastercarré, Masterligne a matné sklo (viz obrázky níže) pro individuální design. Ta rozptylují světlo v různých stupních a chrání tak před nerozvážnými pohledy.

Typy skel
Typy NovoPorta Plano a Premio MZ

MZ-1
jednokřídlé

MZ-2
dvoukřídlé

Se sklem ISO 24 mm float čiré sklo (standardní sklo)*.

-

-

Se sklem ISO VSG / VSG 24 mm (standardní sklo)

-

-

Se sklem ISO VSG / VSG 24 mm s matnou fólií (standardní sklo)

-

-

Se sklem ISO 24 mm float vzorované sklo bílé / Mastercarré*

-

-

Se sklem ISO 24 mm float vzorované sklo, bílé / Masterligne*

-

-

Se sklem ISO ESG / ESG 24 mm

-

-

Ostatní speciální typy skel (pouze skla ISO) na vyžádání, tloušťka skla 24 mm

-

-

Zasklívací zařízení pro sklo ISO 24 mm na stavbě

-

-

 

U zasklení je možné standardně použít zajištěnou zasklívací lištu na straně závěsu (v závislosti na objednávce také na opačné straně závěsu).

/ * Dodržujte pokyny pro práci a předpisy pro prevenci úrazů.

PROVEDENÍ Z OZDOBNÉHO SKLA

Mastercarré

Masterline

Matná fólie (matné sklo)

DRŽÁKY A KRYCÍ LIŠTY NA SKLO

DRŽÁKY A KRYCÍ LIŠTY NA SKLO


Ocelový profil pro viditelné zasklení Robustní ocelové zasklívací lišty dveří NovoPorta Premio mají vždy stejnou šířku, ať už se jedná o provedeníEI2 30, EI2 60, EI2 90, MZ nebo bezpečnostní dveře. Díky tomu je zachován jednotný vzhled dveří v celém objektu, a to i s ohledem na prosklení.


Materiál: ocel


ELEGANTNÍ KRYTOVÉ LIŠTY ZNEREZOVÉ OCELI Pokud chcete dosáhnout ještě atraktivnějšího vzhledu, můžete se rozhodnout pro elegantní krycí lišty z nerezové oceli. Ty se jednoduše nasadí na standardní zasklívací lištu a ještě více zvýrazní vzhled modelu Premio se zasklením.


Materiál: Nerezová ocel, k dispozici pro čtvercové a kulaté zasklení.

ZASKLÍVACÍ PROFILY

 

NovoPorta Premio EI2 30-1 a EI2 30-2 1) 2)

 


Dostupné typy skel: Zasklení F30 čiré pro vnitřní i venkovní použití.


Ocelové zasklívací profily Pro obdélníkové a kruhové standardní zasklení a zasklení na míru


Zasklívací profily s přídavnými krycími profily z nerezové oceli Pro obdélníková a kulatá standardní a speciální zasklení


NovoPorta Cena EI2 60-1 a EI2 60-2 1) 2)


Ocelové zasklívací profily Pro obdélníkové a kruhové standardní zasklení a zasklení na míru


Ocelové zasklívací profily Pro obdélníkové a kruhové standardní zasklení a zasklení na míru


Zasklívací profily s přídavnými krycími profily z nerezové oceli Pro obdélníková a kulatá standardní a speciální zasklení


NovoPorta Premio EI2 90-1 a EI2 90-2 1) 2)


Dostupné typy skel: Zasklení F90 čiré pro vnitřní i venkovní použití.


Ocelové zasklívací profily Pro obdélníkové a kruhové standardní zasklení a zasklení na míru


Zasklívací profily s přídavnými krycími profily z nerezové oceli Pro obdélníková a kulatá standardní a speciální zasklení


NovoPorta Premio MZ-1 a MZ-2 2)


Ocelové zasklívací profily Pro obdélníkové a kruhové standardní zasklení a zasklení na míru


Zasklívací profily s přídavnými krycími profily z nerezové oceli Pro obdélníková a kulatá standardní a speciální zasklení


Dostupné typy skel: K dispozici pouze se zasklením ISO.


1) Uvedená ohnivzdorná skla F30/F60/F90 jsou standardně vhodná pouze pro použití v interiéru, odolná proti UV záření podle normy DIN EN ISO 12543-4, oddíl 6, a to i pro prostory vystavené slunečnímu záření. Pro vnější použití jsou k dispozici speciální protipožární skla F30 a F90 odolná proti UV záření, rovněž pouze s monolitickou strukturou skla (žádné sklo ISO!). Tato skla jsou proto vhodná pouze pro instalační prostory, pro které nejsou stanoveny požadavky na tepelnou izolaci a musí být také chráněna před přímým působením povětrnostních vlivů - zejména před prudkým deštěm.

2) Standardní ocelové zasklívací profily jsou z obou stran viditelně přišroubovány. Dodatečně zajištěny na straně nebezpečí/vnější straně dveří MZStandardní ocelové zasklívací profily jsou viditelně přišroubovány na obou stranách. Dodatečně zajištěny na straně nebezpečí/vnější straně dveří MZ.

ATRAKTIVNÍ BALÍČKY VYBAVENÍ

ATRAKTIVNÍ VYBAVENÍ ZA ZAJÍMAVOU CENU


ČTYŘI BALÍČKY VYBAVENÍ PRO JEDNOTLIVÉ DVEŘE PREMIO Vysoce kvalitní silné falcové dveře s mimořádně výhodnou konfigurací a cenou. Od svého uvedení na trh NovoPorta Premio zaujala širokou nabídkou variant. S novými balíčky výbavy pro protipožární, kouřotěsné nebo víceúčelové dveře nyní přibyly čtyři speciální varianty. Stačí si vybrat kombinaci zámku, kování, závěsů a horního zavírače dveří vpravo a využít cenového zvýhodnění až 23 %*. Všechny ostatní varianty vybavení Premio zůstávají volně konfigurovatelné v rámci příslušného oprávnění.


Atraktivní balíčky výbavy pro jednokřídlá vrata Premio Naše balíčky výbavy Premio jsou přesně vyladěné a jsou k dispozici pouze ve spojení s objednávkou vrat. U všech čtyř balíčků výbavy bohužel nejsou možné změny příslušných komponent, a to ani za příplatek.

Jediná výjimka: Zámek lze rozšířit o antipanikové zámky podle normy DIN EN 179 (za příplatek podle ceníku).Čelní panel znerezové oceli a kulaté rozety ve standardní výbavě Pokud vybraný antipanikový zámek není již standardně vybaven čelním panelem z nerezové oceli, obdržíte jej bez příplatku.

Za vynechání originálního standardního balení zadlabacího zámku s čelní deskou z nerezové oceli bohužel nelze poskytnout slevu z ceny.Kování a mnoho dalšího v ceně. U verzí s antipanikovými zámky je bez příplatku dodáváno antipanikové provedení kování s děleným čepem páky. Kování pro kulaté rozety je rovněž zahrnuto v ceně balení.

PACK BASIC

Až 23% cenové zvýhodnění*








Zadlabací zámek s pákou BMH 1000 PZW s čelní deskou z nerezové oceliSadakulatých pákových klik /výměnná sada ²) ECO OGL technologie kluzných ložisek typ D-110 FSU tvar černý - lesklý - s kulatými růžicemi3dílné standardní závěsy pozinkované (ne 3D)Standardní nůžkový zavírač dveří ECO TS 50 nebo GEZE TS 4000 nebo DORMA TS 89, stříbrná barva ¹)

HLINÍKOVÝ OBAL

Až 20% cenové zvýhodnění*







Zadlabací zámek s pákou BMH 1000 PZW s nerezovým čelemSada kulatých pákových klik / výměnná sada ²) ECO OGL technologie kluzných ložisek typ D-110 FSU forma hliník F1 eloxovaný - s kulatými růžicemi3dílné standardní závěsy pozinkované (ne 3D)Standardní zavírač dveří s posuvným kanálem Novoferm NFGS 55, stříbrná barva ¹)

BALENÍ Z NEREZOVÉ OCELI

Až 20% cenové zvýhodnění*




Zadlabací zámek s pákou BMH 1000 PZW s čelní deskou z nerezové oceliSada kulaté kliky s pákou / výměnná sada ²) ECO OGL technologie kluzného ložiska typu D-110 FSU tvar.


Nerezová ocel - s kulatými růžicemi3dílné závěsy z nerezové oceli, leštěné (ne 3D)Závěsy s posuvným kanálem ECO TS 61 B (EN 2-5), nebo GEZE TS 5000, nebo DORMA TS 93 Basic, stříbrná barva ¹)

BALÍČEK Z NEREZOVÉ OCELI PLUS

Až 15% cenové zvýhodnění*




Zadlabací zámek s výměnou BMH 1000 PZW s čelní deskou z nerezové oceliSada kulatých pák / výměnná sada ²) Technologie kuličkových ložisek ECO OKL typ D-110 tvar FSU.



Nerezová ocel - s kulatými růžicemi3dílné závěsy z nerezové oceli, broušené (3D-nastavitelné - slim provedení)Závěs sposuvným kanálem ECO TS 61 B (EN 2-5) Plný kryt, nerezová ocel ¹)




¹) Všechny zavírače horních dveří pouze pro standardní montáž na straně závěsu ²) Výměnná sada s rovnou plochou hlavou * oproti ceníkovým cenám pro jednotlivé objednávky

PACK BASIC

Až 23% cenové zvýhodnění*







Zadlabací zámek s pákou BMH 1000 PZW s nerezovým čelemSada kulatých pákových klik / výměnná sada ²) ECO OGL technologie kluzných ložisek typ D-110 FSU tvar černý - lesklý - s kulatými růžicemi3dílné standardní závěsy pozinkované (ne 3D)Standardní nůžkový zavírač dveří ECO TS 50 nebo GEZE TS 4000 nebo DORMA TS 89, stříbrná barva ¹)

HLINÍKOVÝ OBAL

Až 21% cenové zvýhodnění*




Zadlabací zámek s výměnou BMH 1000 PZW s čelní deskou z nerezové oceliSada kulatých pák / výměnná sada ²) ECO OGL technologie kluzných ložisek typ D-110 FSU forma.


Hliník F1 eloxovaný - s kulatými růžicemi3dílné standardní závěsy pozinkované (ne 3D)Standardní zavírač dveří s posuvným kanálem Novoferm NFGS 55, stříbrná barva ¹)

BALENÍ Z NEREZOVÉ OCELI

Až 20% cenové zvýhodnění*




Zadlabací zámek s pákou BMH 1000 PZW s čelní deskou z nerezové oceliSada kulaté kliky s pákou / výměnná sada ²) ECO OGL technologie kluzného ložiska typu D-110 FSU tvar.


Nerezová ocel - s kulatými růžicemi3dílné závěsy z nerezové oceli, leštěné (ne 3D)Závěsy s posuvným kanálem ECO TS 61 B (EN 2-5), nebo GEZE TS 5000, nebo DORMA TS 93 Basic, stříbrná barva ¹)

BALÍČEK Z NEREZOVÉ OCELI PLUS

Až 15% cenové zvýhodnění*




Zadlabací zámek s pákou BMH 1000 PZW s nerezovým čelemKulatá sada pákových klik/zvratná sada ²) Technologie kuličkových ložisek ECO OKL typ D-110 tvar FSU.
Nerezová ocel - s kulatými růžicemiTřídílné závěsy z nerezové oceli, leštěné.

(3D-nastavitelný - štíhlý design)Zavírač dveří sposuvným kanálem ECO TS 61 B (EN 2-5) Plný kryt, nerezová ocel ¹)



¹) Všechny zavírače horních dveří pouze pro standardní montáž na straně závěsu ²) Výměnná sada s rovnou plochou hlavou * oproti ceníkovým cenám pro jednotlivé objednávky

Technologie a podrobnosti

Přehled rozměrů Objednací a instalační rozměry

Přehled rozměrů Objednací a instalační rozměry



 

Bestellmaße
Baurichtmaße

 

Nennmaße

 

Lichte
Durchgangsmaße

Zargen-
außenmaße
mit Bodeneinstand
20 mm
ohne
Bodeneinstand
Breite x Höhe mmBreite x Höhe mmBreite x Höhe mmBreite x Höhe mmBreite x Höhe mm
Ocenění T30/EI2 30-1 Wandklappe
Ocenění T90/EI2 90-1 Wandklappe

750 x 750 750 x 875

760 x 760 760 x 885

666 x 666 666 x 791

828 x 828 828 x 953

- -
800 x 800810 x 810716 x 716878 x 878-


875 x 875 875 x 1.000 875 x 1.250


885 x 885 885 x 1,010 885 x 1,260


791 x 791 791 x 916 791 x 1.166


953 x 953 953 x 1,078 953 x 1,328


- - -

1.000 x 1.000 1.000 x 1.250

1.010 x 1.010 1.010 x 1.260

916 x 916 916 x 1,166

1,078 x 1,078 1,078 x 1,328

- -


zulässiger Größenbereich: 500 x 715 mm bis 1.000 x 1.750 mm (BRM = Baurichtmaß)
Cena T30/EI2 30-1
Cena EI2 60-1
Cena T90/EI2 90-1
Cena MZ-1
Cena E-S-1
Cena S-D-1
Cena DB-1 Typ 50

750 x 2.000 750 x 2.125

760 x 2.005 760 x 2.130

666 x 1,958 666 x 2,083

828 x 2,059 828 x 2,184

828 x 2,039 828 x 2,164


875 x 1,875 875 x 2,000 875 x 2,125


885 x 1,880 885 x 2,005 885 x 2,130


791 x 1,833 791 x 1,958 791 x 2,083


953 x 1,934 953 x 2,059 953 x 2,184


953 x 1,914 953 x 2,039 953 x 2,164

1,000 x 2,000 1,000 x 2,125

1 010 x 2 005 1 010 x 2 130

916 x 1,958 916 x 2,083

1,078 x 2,059 1,078 x 2,184

1,078 x 2,039 1,078 x 2,164

1,125 x 2,000 1,125 x 2,125

1,135 x 2,005 1,135 x 2,130

1,041 x 1,958 1,041 x 2,083

1,203 x 2,059 1,203 x 2,184

1.203 x 2.039 1.203 x 2.164


1.250 x 2.000 1.250 x 2.125 1.250 x 2.250


1.260 x 2.005 1.260 x 2.130 1.260 x 2.255


1.166 x 1.958 1.166 x 2.083 1.166 x 2.208


1.328 x 2.059 1.328 x 2.184 1.328 x 2.309


1.328 x 2.039 1.328 x 2.164 1.328 x 2.289


zulässiger/lieferbarer Größenbereich: 500 x 715 mm(EI2 60-1 ab 563 x 1.594 mm) bis 1.500 x 3.000 mm (BRM = Baurichtmaß)
Ocenění T30/EI2 30-2
Cena EI2 60-2
Cena T90/EI2 90-2
Cena MZ-2
Cena E-S-2
Cena S-D-2

1 500 x 2 000** 1 500 x 2 125**

1,510 x 2,005 1,510 x 2,130

1,416 x 1,958 1,416 x 2,083

1,578 x 2,059 1,578 x 2,184

1,578 x 2,039 1,578 x 2,164

1,750 x 2,000*** 1,750 x 2,125***

1,760 x 2,005 1,760 x 2,130

1,666 x 1,958 1,666 x 2,083

1,828 x 2,059 1,828 x 2,184

1,828 x 2,039 1,828 x 2,164


2,000 x 2,000 2,000 x 2,125 2,000 x 2,500


2,010 x 2,005 2,010 x 2,130 2,010 x 2,505


1,916 x 1,958 1,916 x 2,083 1,916 x 2,458


2,078 x 2,059 2,078 x 2,184 2,078 x 2,559


2,078 x 2,039 2,078 x 2,164 2,078 x 2,539
2.125 x 2.1252.135 x 2.1302.041 x 2.0832.203 x 2.1842.203 x 2.164
2.250 x 2.2502.260 x 2.2552.166 x 2.2082.328 x 2.3092.328 x 2.289
2.500 x 2.5002.510 x 2.5052.416 x 2.4582.578 x 2.5592.578 x 2.539

zulässiger / lieferbarer Größenbereich: 1.170 (1.375) x 1.750 mm bis 3.000 x 3.000 mm (BRM = Baurichtmaß
Technická data pro NovoPorta Premio T30 / EI 30

NOVOPORTA PREMIO EI2 30-1 JEDNOLIST A OVERSIZE G3)

Třída odolnosti / typ

Označení


NovoPortaPremio EI2 30-1

jednokřídlá


NovoPortaPremio EI2 30-1


jednokřídlá / Oversize GE3)

Schválené rozměry

Referenční rozměr konstrukce (BRM) Šířka min. - max. (volný průchod (LD))


500 - 1,375 (416- 1,291)


1,376- 1,500 (1,292-1,416)

Výška min. - max.


715 - 2,500 (673- 2,458)


2,501- 3,000 (2,459-2,958)

s horním panelem Výška max.

3.500

-

z toho dveře Výška max.

2.500

-

Ochrana proti kouři s horním panelem BRM max.

3.500

-

Dveřní křídlo

Tloušťka dveřního křídla přibližně

64

64

Tloušťka plechu cca.

1,0

(volitelně 1,5)

1,0

(ve zkušebním postupu 1,5)

Typ otvoru

Vlevo nebo vpravo

vlevo nebo vpravo

Stěny

Zdivo

> 115

> 175

Beton

≥ 100

≥ 140

Pórobetonové tvárnice / půdorysné bloky

≥ 150

≥ 175

Stěnové panely z pórobetonu

≥ 150

≥ 175


Stěny z F30-A/EI30 (typ GE z F60-A/EI60) ze sádrokartonových protipožárních desek s ocelovými trny (podle DIN 4102, část 4, tabulka 10.2 nebo EN 13501-2).

≥ 100

≥ 100


Stěny ze sádrokartonových protipožárních desek typu F30-B/EI30 s dřevěnými trny (podle DIN 4102, část 4, tabulka 10.3 nebo EN 13501-2)

≥ 130

-


Ostatní schválené instalační stěny min. F30-A/EI30 (typ konstrukce GE z F60-A/EI60) nebo F30-B/EI30 (ne pro typ konstrukce GE) podle generálního stavebního dozoru Zkušební certifikát na vyžádání

-

-

Opláštěné ocelové sloupy / ocelové nosníky min. F60-A/R60 nebo opláštěné dřevěné sloupy / dřevěné nosníky min. F60-B/ R60

-

-

Exekuce


Tepelně izolované, plné křídlo, všechna prahová provedení (hodnotaUd dveří W/(m2)K)

1,5

1,6

Protipožární - testováno podle EN 1634-1

-

-

Také s požárně odolným zasklením 1)

-

-

Také s ochranou proti kouři podle EN 1634-3

-

-


Také zvukově izolační (se čtyřstranným rámem B 1, bez skla, laboratorní hodnota podle EN ISO 717-1)

cca 40 dB RwP

cca 39 dB RwP

Také odolnost proti vloupání podle EN 1627 (plné křídlo; testováno na obou stranách)

RC 2

RC 3

RC 4

RC 2 ve zkušebním postupu

F30 zasklení


Obdélníkové standardní zasklení s viditelnými šroubovanými zasklívacími lištami, standardně pozinkované a opatřené práškovým lakem (RAL 9016), na přání také s přídavnými krycími profily (bez viditelného upevnění) z oceli nebo nerezové oceli. Minimální šířky vlysů (hodnoty konzol platí pro provedení GE) na horní straně a na straně závěsu ≥ 150 (200) mm, na straně zámku ≥ 180 (220) mm. Výška soklu ≥ 150 (600) mm.

-

-



Kulaté standardní zasklení Provedení zasklívacích lišt a minimální šířky vlysů / šířky vlysů jako u obdélníkového standardního zasklení.

-

-




Speciální zasklení dle vlastního výběru Od 170 x 270 mm do 849 x 2 134 mm (pro provedení GE do 670 x 1 770 mm) Provedení a zasklívací lišty a minimální šířky vlysů / šířky vlysů jako u standardního obdélníkového zasklení.

-

-

Certifikace (schválení) jako interiérové dveře podle ETA 17/0443

EI2 30 / CE

EI2 30 / CE

Certifikace (schválení) jako vnější dveře podle EN 16034 a EN 14351-1

EI2 30 / CE

EI2 30 / CE

- možné - není možné

¹) Standardní sklo pouze pro vnitřní použití (sklo chraňte před UV zářením a přímým působením halogenového světla). Sklo lze použít pouze pro teplotní rozsah od -20 do +45˚C. Náčrtky platí pouze pro dveře o rozměrech 1 000 x 2 000 mm / Všechny údaje o rozměrech zasklení se vztahují na světlou výšku na jednotku skla. Provedení skel a maximální rozměry skel pro vnější použití na vyžádání. sklo pouze pro vnitřní použití (sklo chraňte před UV zářením a přímým působením halogenového světla). Sklo lze použít pouze pro teplotní rozsah od -20 do +45˚C. Náčrtky platí pouze pro dveře o rozměrech 1000 x 2000 mm / Všechny informace o rozměrech zasklení se vztahují k průhledu na jednotku skla.

2) Není povoleno pro provedení s horním panelem

3) GE = rozšíření velikosti / nadměrná velikost
Všechny rozměry v mm. BRM = konstrukční rozměr RAM = vnější rozměr rámu LD = rozměr světlého průchodu

Technická data Novoporta Premio EI2 30-2

NOVOPORTA PREMIO EI2 30-2 JEDNOLIST A OVERSIZE G3)

Třída odolnosti / typ

Označení

NovoPorta Premio EI2 30-2

Dvoulist

NovoPorta Premio EI2 30-2

dvoulistý / nadměrný3)

Schválené rozměry

Konstrukční rozměr (BRM) Šířka min. - max.

(volný průchod (LD))

 


1,170 - 2,500 (1,086-2,416)


1,376-3,000 (1,292-2,916)
Výška min. - max.


1,750 - 2,500 (1,708-2,458)


2,501 - 3,000 (2,459-2,958)

s horním panelem Výška max.

3.500

-

z toho dveře Výška max.

2.500

-

Ochrana proti kouři s horním panelem BRM max.

3.500

-

Dveřní křídlo

Tloušťka dveřního křídla přibližně

64

64

Tloušťka plechu cca.

1,0

(volitelně 1,5)

1,0

(ve zkušebním postupu 1,5)

Šířka pochozího listu min. - max.600 - 1.228728 - 1.478
Šířka neaktivního listu min. - max.525 - 1.228728 - 1.478
Typ otevření

Aktivní křídlo

levý nebo pravý

Aktivní křídlo

vlevo nebo vpravo

Stěny

Zdivo

> 115

> 175

Beton

≥ 100

≥ 140

Pórobetonové tvárnice / půdorysné bloky

≥ 150

≥ 175

Stěnové panely z pórobetonu

≥ 150

≥ 175


Stěny z F30-A/EI30 (typ GE z F60-A/EI60) ze sádrokartonových protipožárních desek s ocelovými trny (podle DIN 4102, část 4, tabulka 10.2 nebo EN 13501-2).

≥ 100

≥ 100


Stěny ze sádrokartonových protipožárních desek typu F30-B/EI30 s dřevěnými trny (podle DIN 4102, část 4, tabulka 10.3 nebo EN 13501-2)

≥ 130

-


Ostatní schválené instalační stěny min. F30-A/EI30 (typ konstrukce GE z F60-A/EI60) nebo F30-B/EI30 (ne pro typ konstrukce GE) podle generálního stavebního dozoru Zkušební certifikát na vyžádání

-

-

Opláštěné ocelové sloupy / ocelové nosníky min. F60-A/R60 nebo opláštěné dřevěné sloupy / dřevěné nosníky min. F60-B/ R60

-

-

Exekuce


Tepelně izolované, plné křídlo, všechna prahová provedení (hodnotaUd dveří W/(m2)K)

1,5

1,6

Protipožární - testováno podle EN 1634-1

-

-

Také s požárně odolným zasklením 1)

-

-

Také s ochranou proti kouři podle EN 1634-3

-

-


Také zvukově izolační (se čtyřstranným rámem B 1, bez skla, laboratorní hodnota podle EN ISO 717-1)

cca 39 dB RwP

cca 37 dB RwP

Také odolnost proti vloupání podle EN 1627 (plné křídlo; testováno na obou stranách)

RC 2


RC 3

RC 2 ve zkušebním postupu

F30 zasklení


Obdélníkové standardní zasklení s viditelnými šroubovanými zasklívacími lištami, standardně pozinkované a opatřené práškovým lakem (RAL 9016), na přání také s přídavnými krycími profily (bez viditelného upevnění) z oceli nebo nerezové oceli. Minimální šířky vlysů (hodnoty konzol platí pro provedení GE) na horní straně a na straně závěsu ≥ 150 (200) mm, na straně zámku ≥ 180 (220) mm. Výška soklu ≥ 150 (600) mm.

-

-



Kulaté standardní zasklení Provedení zasklívacích lišt a minimální šířky vlysů / šířky vlysů jako u obdélníkového standardního zasklení.

-

-




Speciální zasklení dle vlastního výběru Od 170 x 270 mm do 849 x 2 134 mm (pro provedení GE do 670 x 1 770 mm) Provedení a zasklívací lišty a minimální šířky vlysů / šířky vlysů jako u standardního obdélníkového zasklení.

-

-

Certifikace (schválení) jako interiérové dveře podle ETA 17/0443

EI2 30 / CE

EI2 30 / CE

Certifikace (schválení) jako vnější dveře podle EN 16034 a EN 14351-1

EI2 30 / CE

EI2 30 / CE

- možné - není možné

¹) Standardně sklo pouze pro vnitřní použití (sklo chraňte před UV zářením a přímým působením halogenového světla). Sklo lze použít pouze pro teplotní rozsah od -20 do +45˚C. Náčrtky platí pouze pro dveře o rozměrech 1 000 x 2 000 mm / Všechny údaje o rozměrech zasklení se vztahují na světlou výšku na jednotku skla. Provedení skel a maximální rozměry skel pro vnější použití na vyžádání. Sklo pouze pro vnitřní použití (sklo chraňte před UV zářením a přímým působením halogenového světla). Sklo lze použít pouze pro teplotní rozsah od -20 do +45˚C. Náčrtky platí pouze pro dveře o rozměrech 1000 x 2000 mm / Všechny informace o rozměrech zasklení se vztahují na světlou výšku na jedno zasklení.

2) Není povoleno pro provedení s horním panelem

3) GE = rozšíření velikosti / nadměrná velikost
Všechny rozměry v mm. BRM = konstrukční rozměr RAM = vnější rozměr rámu LD = rozměr světlého průchodu
Technická data pro NovoPorta Premio T60 / EI 60

Technická data NovoPorta Premio EI 60-1/2

Třída odolnosti / typ

Označení

NovoPorta Premio EI2 60-1

jednokřídlá

NovoPorta Premio EI2 60-2

dvoukřídlá

Schválené rozměry

Konstrukční rozměr (BRM) Šířka min. - max.

(volný průchod (LD))

 


563 - 1,375 (479 - 1,291)


1,250 - 2,500 (1,166 - 2,416)

Výška min. - max.


1,594 - 2,500 (1,552 - 2,458)


1,750 - 2,500 (1,708 - 2,458)

s horním panelem Výška max.

-

-

z toho dveře Výška max.

-

-

Ochrana proti kouři s horním panelem BRM max.

-

-

Dveřní křídlo

Tloušťka dveřního křídla přibližně

64

64

Tloušťka plechu cca.

1,0

1,0

Šířka pochozího listu min. - max.

-

600 - 1.228

Šířka neaktivního listu min. - max.

-

525 - 1.228

Typ otevření

levý nebo pravý

Aktivní křídlo

levý nebo pravý

Stěny

Zdivo

> 115

> 175

Beton

≥ 100

≥ 100

Pórobetonové tvárnice / půdorysné bloky

≥ 150

≥ 150

Stěnové panely z pórobetonu

≥ 150

≥ 150


Stěny z F30-A/EI30 (typ GE z F60-A/EI60) ze sádrokartonových protipožárních desek s ocelovými trny (podle DIN 4102, část 4, tabulka 10.2 nebo EN 13501-2).

≥ 100

≥ 100


Stěny ze sádrokartonových protipožárních desek s dřevěnými trny (podle DIN 4102, část 4, tabulka 10.3 nebo EN 13501-2)

-

-


Ostatní schválené instalační stěny min. F60-A/EI60 podle osvědčení o zkoušce obecného stavebního úřadu na vyžádání

-

-

Opláštěné ocelové sloupy/ocelové nosníky nebo opláštěné dřevěné sloupy/dřevěné nosníky.

-

-

Exekuce


Tepelně izolované, plné křídlo, všechna prahová provedení (hodnotaUd dveří W/(m2)K)

1,5

1,6

Vysoce požárně odolné - testováno podle EN 1634-1.

-

-

Také s ohnivzdorným zasklením 1)

-

-

Také s ochranou proti kouři podle EN 1634-3

-

-


Také zvukově izolační (se čtyřstranným rámem B 1, bez skla, laboratorní hodnota podle EN ISO 717-1)

cca 35 dB RwP

cca 35 dB RwP

Také odolnost proti vloupání podle EN 1627 (plné křídlo; testováno na obou stranách)

RC 2

RC 3


RC 4

RC 2

RC 3

Zasklení F30


Obdélníkové standardní zasklení s viditelnými šroubovanými zasklívacími lištami, standardně pozinkované a opatřené práškovým lakem (RAL 9016), na přání také s přídavnými krycími profily (bez viditelného upevnění) z nerezové oceli. Šířka vlysu v horní části a na straně závěsu ≥ 200 mm, na straně zámku a na pevném středovém dorazu křídla ≥ 220 mm, výška soklu ≥ 300 mm.

-

-



Kulaté standardní zasklení Provedení zasklívacích lišt a minimální šířky vlysu / šířky vlysu jako u obdélníkového standardního zasklení.

-

-



Speciální zasklení dle vlastního výběru. Od 170 x 270 mm do 750 x 1 930 mm. Design a zasklívací lišty a minimální šířky vlysů / šířky vlysů jako standardní obdélníkové zasklení.

-

-

Certifikace (schválení) jako interiérové dveře podle ETA 17/0443

EI2 60 / CE

EI2 60 / CE

Certifikace (schválení) jako vnější dveře podle EN 16034 a EN 14351-1

EI2 60 / CE

EI2 60 / CE

- možné - není možné

¹) Sklo pouze pro vnitřní použití (sklo chraňte před UV zářením a přímým působením halogenového světla). Sklo lze použít pouze pro teplotní rozsah od -20 do +45˚C. Náčrtky platí pouze pro dveře o rozměrech 1 000 x 2 000 mm / Všechny informace o rozměrech zasklení se vztahují k průhledu na jednotku skla.

Všechny rozměry v mm. BRM = stavební rozměr RAM = vnější rozměr rámu LD = světlý rozměr otvoru

Technická data pro NovoPorta Premio T90 / EI 90

TECHNISCHE DATEN NOVOPORTA PREMIO EI 90-1/2

Třída odolnosti / typ

Označení

NovoPorta Premio EI2 90-1

jednokřídlá

NovoPorta Premio EI2 90-2

dvoukřídlá

Schválené rozměry

Konstrukční rozměr (BRM) Šířka min. - max.

(volný průchod (LD))

 


500 - 1,375 (416 - 1,291)


1,170 - 2,500 (1,086 - 2,416)

Výška min. - max.


715 - 2,500 (673 - 2,458)


1,750 - 2,500 (1,708 - 2,458)

s horním panelem Výška max.

-

-

z toho dveře Výška max.

-

-

Ochrana proti kouři s horním panelem BRM max.

-

-

Dveřní křídlo

Tloušťka dveřního křídla přibližně

64

64

Tloušťka plechu cca.

1,0

(volitelně 1,5)

1,0

(volitelně 1,5)

Šířka pochozího listu min. - max.

-

600 - 1.228

Šířka neaktivního křídla min. - max.

-

525 - 1.228

Typ otevření

levý nebo pravý

Aktivní křídlo

levý nebo pravý

Stěny

Zdivo

> 175

> 175

Beton

≥ 140

≥ 140

Pórobetonové tvárnice/planové bloky

≥ 175

≥ 175

Železobetonové pórobetonové stěnové panely

≥ 175

≥ 175


Stěny z F30-A/EI30 (typ GE z F60-A/EI60) ze sádrokartonových protipožárních desek s ocelovými trny (podle DIN 4102, část 4, tabulka 10.2 nebo EN 13501-2).

≥ 100

≥ 100


Stěny ze sádrokartonových protipožárních desek s dřevěnými trny (podle DIN 4102, část 4, tabulka 10.3 nebo EN 13501-2)

-

-


Ostatní schválené instalační stěny min. F90-A/EI90 podle osvědčení o zkoušce obecného stavebního úřadu na vyžádání

-

-

Opláštěné ocelové podpěry/ocelové nosníky min. F90-A nebo s klasifikací min. R90.

-

-

Exekuce


Tepelně izolované, plné křídlo, všechna prahová provedení (hodnotaUd dveří W/(m2)K)

1,7

1,8

Vysoká požární odolnost - testováno podle EN 1634-1.

-

-

Také s ohnivzdorným zasklením 1)

-

-

Také s ochranou proti kouři podle EN 1634-3

-

-


Také zvukově izolační (se čtyřstranným rámem B 1, bez skla, laboratorní hodnota podle EN ISO 717-1)

cca 39 dB RwP

cca 39 dB RwP

Také odolnost proti vloupání podle EN 1627 (plné křídlo; testováno na obou stranách)

RC 2


RC 3

RC 2

RC 3

Zasklení F30

Obdélníkové standardní zasklení s viditelnými šroubovanými zasklívacími lištami, standardně pozinkované a opatřené základním práškovým nátěrem (RAL 9016), na přání také s přídavnými krycími profily (bez viditelného upevnění) z nerezové oceli. Šířka vlysu na horní straně a na straně závěsu ≥ 200 mm, na straně zámku a na středovém dorazu neaktivního křídla ≥ 220 mm, výška soklu ≥ 300 mm.

-

-



Kulaté standardní zasklení Design zasklívacích lišt a minimální šířky vlysů / Frieze widths like rectangular standard glazing.

-

-


Speciální zasklení dle vašeho výběru Od 170 x 270 mm do 460 x 1 500 mm. Design a zasklívací lišty a minimální šířky vlysů / šířky vlysů jako u standardního obdélníkového zasklení.

-

-

Certifikace (schválení) jako interiérové dveře podle ETA 17/0443

EI2 90 / CE

EI2 90 / CE

Certifikace (schválení) jako vnější dveře podle EN 16034 a EN 14351-1

EI2 90 / CE

EI2 90 / CE

- možné - není možné

¹) Standardní sklo pouze pro vnitřní použití (sklo chraňte před UV zářením a přímým působením halogenového světla). Sklo lze použít pouze pro teplotní rozsah od -20 do +45˚C. Náčrtky platí pouze pro dveře o rozměrech 1 000 x 2 000 mm / Všechny údaje o rozměrech zasklení se vztahují na světlou výšku na jednotku skla. Provedení skel a maximální rozměry skel pro vnější použití na vyžádání.

Všechny rozměry v mm. BRM = stavební rozměr RAM = vnější rozměr rámu LD = světlý rozměr otvoru.

ZARGEN

ZARGEN


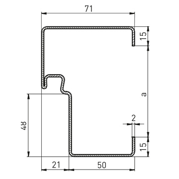
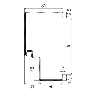
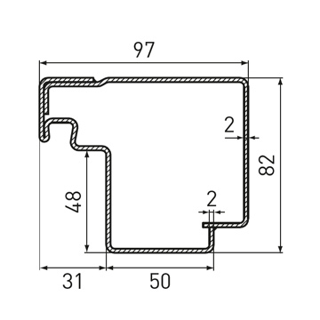
ÜBERSICHT ZARGEN

Eckzarge

Rohový rám s doplňkovým rámem

Rohový rám s pultovým rámem



Blokový rám typ 1 Roh stěny Montáž v zákrytu



Typ rámu bloku 1.1 Rohová stěna Montáž do zákrytu


Blokový rám typ 2 s lemovacím profilem Instalace do zákrytu


Blokový rám typu 3 Instalace před stěnu

Okolní rám

Dvoudílný obklopující rám, typ 2140B

a = šířka rámečku v ústech

SWELLS

SWELLS


A Práh na úrovni podlahy


B1 Práh pro dveře od výšky BRM 1 750 mm 4stranný obvodový rám (dveřní křídlo a rám 4stranný obvodový)


B1 Práh pouze pro stěnové klapky do výšky BRM 1 749 mm 4stranný obvodový rám (dveřní křídlo a rám 4stranný obvodový)


B2 Práh pro malé dveře do výšky BRM 1 749 mm a dveře od výšky BRM 1 750 mm 4stranný obvodový rám (rám 4stranný obvodový)


B3 Práh se čtyřstranným okolním rámem


BE-2 Práh se čtyřstranným okolním rámem


C2 Práh se spodním dorazem a těsněním


RS1 / RS1V Snižovatelné podlahové těsnění


2x RS1 Dvojité spouštěcí podlahové těsnění


RS2 Těsnicí práh / práh cuspu

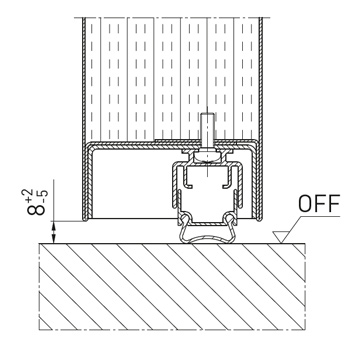
Prahy pro instalaci ve větších výškách / Vyvýšená instalační poloha

Prahy pro instalaci ve větších výškách / zvýšená instalační poloha (SOCKEL > 500 MM)

Prahová hodnota RS31)

B1 Práh pro dveře se čtyřstranným obvodovým rámem (dveřní křídlo a rám čtyřstranný obvodový)

B2 Práh se 4stranným obvodovým rámem (rám 4stranný obvodový / dveřní křídlo 3stranné2)

B1 Práh pro stěnové klapky se 4stranným obvodovým rámem (dveřní křídlo a rám 4stranný obvodový)


1) Další varianty prahů RS3 ve spojení se spodními panely Promat nebo s ocelovými konzolami, jakož i na zvýšených přístupových podlahách, jsou k dispozici na vyžádání. 2) K dispozici pouze pro jednokřídlé Premio EI2 30 do max. BRM 1 375 x 2 500 mm.

Montáž

Jednoduchá montáž a rychlé zasypání rámu


ATRAKTIVNÍ V KAŽDÉM PROSTŘEDÍ, MONTOVANÉ DO MNOHA STĚN! U ocelových dveří řady NovoPorta Premio si můžete vybrat z řady důsledně rychlých, jednoduchých a čistých způsobů montáže a možností zasypání zárubní.

RÁMY NOVOPORTA PREMIO S PROTIPOŽÁRNÍ OCHRANOU Z VÝROBY

RÁMY NOVOPORTA PREMIO S PROTIPOŽÁRNÍ OCHRANOU Z VÝROBY

JEDEN SNÍMEK - VŠECHNY MOŽNOSTI.

VAŠE VÝHODY NA PRVNÍ POHLED!

  • Během instalace není třeba zasypávat rám, a proto odpadá doba tuhnutí a schnutí.
  • Vhodné pro 1 a 2křídlé dveře Premio EI30 / EI2 30 do maximálních rozměrů BRM 1 375 x 2 500 mm / 2 500 x 2 500 mm.
  • Žádné přípravné práce pro zasypání (např. tahání pytlů s maltou, připojení vody, žádné míchání, žádné maskování atd.)
  • Nezávislost na okolní teplotě na staveništi
  • Ideální pro dveře a zárubně, které jsou opatřeny nátěrem v barvě RAL a instalují se v pozdější fázi výstavby.
  • Testováno podle EN 1634 s evropským technickým posouzením ETA-17/0443
  • Obzvláště šetrný k životnímu prostředí, protože není třeba likvidovat žádné zbytkové materiály Vysoce hospodárný a maximálně bezpečný: chybovost při zasypávání zárubní, která je důležitá z hlediska požární ochrany, je nulová. Rám lze instalovat s obvyklými upevňovacími materiály a tolerancemi. Žádné speciální prvky při instalaci!

NYNÍ TAKÉ S PROTIPOŽÁRNÍ OCHRANOU EX WORKS


Kdostání pouze u společnosti Novoferm. Instalace dveří bez časově náročného zasypávání zárubní na místě.
Kdo by to nechtěl? Se systémem EasyFit od společnosti Novoferm je to nyní velmi snadné. Standardní rohová zárubeň je pro tento účel z výroby připravena speciálními pěnovými hmotami, které se v případě požáru rozpínají tak, že mezera mezi zárubní a stěnou je spolehlivě utěsněna. Tím je zaručena 30minutová doba požární odolnosti. Všechny obvyklé zasypávací práce, které jsou vždy spojeny s dodatečnými náklady, lze vynechat. To je zvláště patrné u suché výstavby, kde je čas a rychlost důležitější než kdy jindy. S rohovými rámy EasyFit nejste závislí na dalších materiálech, okolních teplotách, době schnutí ani na připojení vody.


Aco je nejdůležitější: chybovost je snížena na minimum. Chybně nebo nesprávně vložený materiál je s EasyFitem nemožný. A protože systém EasyFit je doplňkem známé a univerzálně použitelné stavebnice rámů NovoPorta Premio, není třeba při montáži brát v úvahu nic nového ani zvláštního - bezpečnější už to být nemůže!

Stačí jej přišroubovat a je hotovo. To je EasyFit od společnosti Novoferm.

Intumescentní protipožární materiál, který se v případě požáru napění a spolehlivě utěsní mezeru mezi rámem a stěnou, čímž zajistí požární ochranu.

DOBRÉ VE ZDIVU A BETONU. VYNIKAJÍCÍ V SUCHÉ VÝSTAVBĚ.

Protipožární dveře NovoPorta Premio s rohovými zárubněmi EasyFit jsou vhodné zejména pro suchou výstavbu s ocelovými stěnami na trnech min. F30-A včetně dvoudílné obložkové zárubně 2140B a horního zavírače. Systém EasyFit s montáží na falcové šrouby, včetně montážní sady (šrouby, hmoždinky, horní zavírač dveří a samolepicí plastový krycí profil), usnadňuje také montáž do odhaleného zdiva a odhaleného betonu. Volitelně je možné doplnit protirám 2140B, který tvoří dvoudílný okolní rám. Sortiment zahrnuje varianty pro jednokřídlé a dvoukřídlé dveře v celé rozměrové řadě Premio až do 1 375 x 2 500 mm/ 2 500 x 2 500 mm, a to i v kombinaci s ochranou proti kouři a zvukovou izolací.


Takto funguje systém EasyFit: do zárubní se z výroby vkládají pásy intumescentního protipožárního materiálu. Ten se při teplotě od 200 °C rozpíná až na deseti- až čtyřicetinásobek svého původního objemu a zůstává mimořádně rozměrově stabilní. V případě požáru je zaručena 30minutová doba požární odolnosti.
EasyFit je testován podle normy EN 1634, schválen stavebními úřady prostřednictvím evropského technického posouzení ETA-17/0443 a klasifikován jako EI2 30-1 nebo EI2 30-2.

Odkryté zdivo / odkrytý beton

Lehká stěna se svorníky (min. F30-A nebo EI 30)

Prvek se skládá z:

  • Dveřní křídlo Premio se standardním rohovým rámem
  • Montáž vratových šroubů včetně kompletní montážní sady
  • Plastový krycí profil
  • Zavírač horních dveří
  • Zadní panel EasyFit z výroby

Prvek se skládá z:

  • Dveřní křídlo Premio s dvoudílnou obložkovou zárubní 2140B pro standardní tloušťky stěn 100 / 125 / 150 mm (pro speciální tloušťky stěn 100 - 300 mm upozorňujeme na delší dodací lhůtu).
  • Zavírač horních dveří
  • Zadní panel EasyFit montovaný z výroby
UNIVERZÁLNÍ RÁMOVÝ PROFIL 2140B

UNIVERZÁLNÍ RÁMOVÝ PROFIL 2140B: JEDEN PRO VŠECHNY PŘÍPADY INSTALACE

Rohový rám je standardní, zatímco doplňkový univerzální profil, který se nemusí zasypávat, je speciální. Tato chytrá kombinace čelního a pultového rámu dohromady vytváří dvoudílný prostorový rám 2140B. A má co nabídnout, protože i již instalované rohové rámy lze dodatečně doplnit - nebo spíše: vylepšit - pultovým rámem.


Další výhody: Podle schválení je třeba zasypat pouze přední plášť rámu - pultový plášť může zůstat prázdný. Různé způsoby zasypání usnadňují montáž, stejně jako montážní sady, které jsou k dispozici prakticky pro všechny typy stěn (viz obrázky).

Je samozřejmé, že NovoPorta Premio je spolu s univerzálním rámovým profilem 2140B schválena jako kompletní systém - s kouřovou, zvukovou a protipožární ochranou (EI2 30, EI2 60, EI2 90) a také s ochranou proti vloupání.

Odkryté zdivo

Beton s poctivou tváří

Pórobeton


Instalační stěna z F30-A (nebo klasifikovaná alespoň EI 30)


Instalační stěna z F30-B (nebo klasifikovaná alespoň EI 30)

Omítnuté zdivo




Srámovým profilem 2140B můžete realizovat prakticky jakýkoli nápad, protože nejenže působivě vypadá: S dostupnými montážními sadami pro všechny typy stěn jej lze také rychle upevnit a čistě zasypat. V závislosti na montážním týmu a montážní situaci na staveništi je flexibilně k dispozici několik schválených typů zasypání. Díky chytré kombinaci čelního a pultového pláště je montáž vždy působivě rychlá a čistá.

RYCHLÁ MONTÁŽ POMOCÍ POSUVNÝCH KOTEV

RYCHLÁ MONTÁŽ POMOCÍ POSUVNÝCH KOTEV




Je zapotřebí pouze maximálně 10 šroubů Rám se upevňuje do maximálně 10 výrobcem připravených upevňovacích bodů (počet závisí na typu a velikosti dveří) v souladu se schválením.Tonejlepší: Požadovanou stabilitu a pevnost zajišťuje již jeden hmoždinkový šroub na upevňovací bod.


Vždy správně umístěný Posuvný protikus se jednoduše nasune na stěnu tak daleko, jak to jen půjde, když se rám přišroubuje na dodané rohové adaptéry rámu. Tím získáte také optimální polohu pro upevnění speciálního pultového rámu 2140B.


Pultové adaptéry pouze tam, kde je to skutečně nutné K instalaci pultového rámu je zapotřebí pouze šest posuvných pultových adaptérů. Spodní kotva je prodloužena tak, aby podpírala rám v oblasti podlahy, kde hrozí riziko nárazu. Optimální: Pro horní upevňovací body nejsou nutné žádné protikusy.


Flexibilita při zasypávání Pouze přední plášť rohového rámu musí být zasypán v souladu se schválením. V případě EI2 30 například sypkou minerální vlnou*, protipožární pěnou Novoferm nebo továrním zásypem EasyFit. Pultový rám se podle schválení nemusí zasypávat.



Jednoduše nasaďte rám pultu a neviditelně jej upevněte. Už žádné nepříjemné zarovnávání: Jednoduše nasuňte rám pultu pod mírným úhlem shora na spodní adaptér pultu a poté na doraz, přišroubujte jej do připravených otvorů v drážce rámu pomocí dodaných samovrtných šroubů a je hotovo. Nakonec vložte těsnicí profil do drážky rámu.

Rychlá instalace pomocí posuvných kotev

K dispozici pro zdivo a beton do tloušťky stěny 300 mm.
Pro EI2 30 nyní také s továrně namontovaným zásypem EasyFit.

* Minimální hustota 40 kg/m3, bod tání > 1 000 °C, třída stavebního materiálu A1 nebo Euroclass A1.

MONTÁŽ POMOCÍ VRUBOVÉHO ŠROUBU

GENERACE PREMIO MÁ TAKÉ VYSOKÉ HODNOCENÍ, POKUD JDE O INSTALACI:

Pouze jeden šroub na upevňovací bod!


Ať už s běžným rohovým rámem, nebo jako dvoudílný prostorový rám 2140B: montáž s falcovými šrouby Novoferm je rychlá a čistá metoda pro atraktivní montáž rámů.

Její genialita spočívá v tom, že k zajištění maximální stability stačí pouze jeden šroub na jeden upevňovací bod. Protože je zapotřebí pouze poloviční počet šroubů, je montáž výrazně rychlejší. Navíc vypadá velmi dobře, protože vrtané otvory skryté v zádveří rámu jsou opatřeny krycími krytkami, které lze natřít barvou, a při zavřených dveřích jsou zcela neviditelné. Tento postup je schválen stavebními úřady pro dveře EI2 30, EI2 60 a EI2 90, kouřotěsné nebo víceúčelové dveře a také pro dveře s ochranou proti vloupání. Lze jej použít na exponovaných betonových a zděných stěnách (pro EI2 30 také na omítnutých stěnách), ale také na sádrokartonových instalačních stěnách s dřevěnými sloupky kategorie F30-B nebo vyšší (nebo klasifikovanými alespoň EI 30). Pokud ještě není hotová podlaha, lze rohový rám prodloužit o 20 mm pomocí volitelně dodávaného distančního adaptéru pro podlahu.

SKRYTÉ ŠROUBOVÉ SPOJENÍ, RYCHLE ZASYPANÉ


NOVINKA: Výrazně vylepšený montážní adaptér.


EI2 30, MZ Zasypávejterychle,čistě a stabilně originální protipožární pěnou Novoferm. Ideální pro obnažené zdivo a obnažený beton.


EI2 30, MZ Vyžaduje se pouze v oblasti záklopu:Volná minerální vlna zaručuje suché a rychlé zasypání rámu i tam, kde je vyžadována zvláštní čistota.


EI2 30, MZ Nyní je k dispozici také s montáží pomocí vrutů pro omítnuté zdivo a betonové stěny. Schválený zásyp:malta.


EI2 30, EI2 60, EI2 90 Ocelové dveře, zejména ty seschválenímEI2 60 nebo EI290, nabízejí obzvláště vysokou úroveň bezpečnosti. Požární odolnost však také znamená zvýšenou hmotnost dveřního křídla, což zvyšuje nároky na stabilitu a pevnost rámu. Pro maximální stabilitu a rychlou montáž doporučujeme montáž na falcové šrouby s klasickým zasypáním maltou - samozřejmě se schválením.

Rozšiřte rám přímo v místě instalace. Všechny rohové rámy Premio se nyní standardně dodávají bez výklenku v podlaze. Přesto se pravidelně stává, že hotová podlaha ještě není na staveništi instalována. V důsledku toho je třeba rám prodloužit. S rohovými rámy Premio je to nyní velmi snadné. Volitelně dostupný podlahový distanční adaptér lze kdykoli našroubovat na nejnižší montážní prvek rohového rámu. Díky tomu lze vytvořit rám s 20mm výklenkem v podlaze, který lze instalovat v souladu s předpisy.

IDEÁLNÍ ŘEŠENÍ PRO SUCHOU VÝSTAVBU - NOVOPORTA PREMIO EI2 30 SE SNADNO ZASYPATELNÝM RÁMOVÝM PROFILEM 2140B

IDEÁLNÍ ŘEŠENÍ PRO SUCHOU VÝSTAVBU - NOVOPORTA PREMIO EI2 30 SE SNADNO ZASYPATELNÝM RÁMOVÝM PROFILEM 2140B

Lehké příčky kategorie F30-A a vyšší nebo s klasifikací EI 30 a vyšší se osvědčily jako rychlé, čisté a flexibilní řešení požární ochrany v interiérech. S dveřním systémem NovoPorta Premio EI2 30, speciálně navrženým pro instalační stěny, lze dveře a zárubně instalovat stejně rychle, snadno a čistě. Systém se skládá z atraktivních, vysoce kvalitních ocelových dveří NovoPorta Premio a dvoudílného rámového profilu 2140B.

Velkou výhodou jsou schválené výplně rámů s protipožární pěnou Novoferm a sypkou minerální vlnou*. Podle schválení je třeba zasypat pouze oblast záklopu předního pláště, zatímco speciální protiplášť 2140B může zůstat volný. Potřebná minerální vlna je obvykle již přítomna na místě instalace. Rámový profil 2140B, který se tradičně zasypává sádrokartonovými lištami, lze použít i pro varianty Premio se schválením EI2 60 a EI2 90. Celý systém je testován podle norem EN 1634-1 a -3 a splňuje také požadavky evropské výrobkové normy EN 16034 nebo se na něj vztahuje ETA.
Speciální montážní sady pro stěny EI 30-EI 90 (nebo pro stěny od F30-A) s praktickými posuvnými kotvami a samořeznými šrouby pro UA profily znatelně zkracují dobu montáže.

* Minimální hustota 40 kg/m3, bod tání > 1 000 °C, třída stavebního materiálu A1 nebo Eurotřída A1.

VYPLNĚNÍ RÁMU BĚŽNĚ DOSTUPNOU MINERÁLNÍ VLNOU.

  • Izolační materiál z minerálních vláken, objemová hmotnost ≥ 40 kg/m3, bod tání > 1 000 °C, třída stavebního materiálu A1 nebo Eurotřída A1.
  • Požadovanou minerální vlnu - ve formě volné vlny nebo ve formě pásů - lze snadno získat u specializovaných prodejců.
  • nákladově efektivní a uživatelsky přívětivá, protože se snadno přepravuje, má krátkou dobu přípravy a lze ji zpracovat čistě a rychle.
  • Úspora času, protože se sypanou minerální vlnou zasypává pouze oblast falcu v přední části rámu 2140B, zatímco zadní část může zůstat prázdná Zkoušeno podle EN 1634-1 a -3
  • Schváleno pro Premio EI2 30 do velikosti BRM 1 křídlo 1 375 x 2 500 mm, 2 křídla do 2 500 x 2 500 mm.

Výplň rámu běžně dostupnou minerální vlnou

ZASYPÁNÍ PROTIPOŽÁRNÍ PĚNOU

  • Pouze s protipožární pistolovou pěnou Novoferm 1C (nesmí se používat žádné jiné volně prodejné pěny!).
  • Výrazně snižuje emise hluku při zavírání dveří
  • Cenově výhodná a uživatelsky přívětivá, protože se snadno přepravuje, krátká doba přípravy, čistota a rychlá aplikace
  • Úspora času, protože protipožární pěnou se vyplňuje pouze oblast záběru v přední části rámu 2140B, zatímco zadní část může zůstat prázdná. (Vyčnívající pěna je zakryta zadní částí, a proto ji není třeba odřezávat ani odstraňovat).
  • Cenově výhodné, protože výtěžnost je přibližně 12 běžných metrů na plechovku protipožární pěny - k dispozici je tedy dostatek pěny pro nejméně dva jednokřídlé dveřní prvky.
  • Testováno v souladu s normami EN 1634-1 a -3.
  • Schváleno pro Premio EI2 30 do velikosti BRM 1-křídlo 1 375 x 2 500 mm, 2-křídlo do 2 500 x 2 500 mm.

Zasypání protipožární pěnou

Poznámka k nařízení REACH (ES) č. 1907/2006 s omezující položkou č. 74 o používání a uvádění diisokyanátů na trh

Diizokyanáty se používají mimo jiné při výrobě polyuretanových pěn, ale také v tmelu, nátěrech a dalších aplikacích. Cílem tohoto záznamu o omezení je minimalizovat zdravotní riziko pro průmyslové a profesionální uživatele v důsledku možné inhalační a/nebo dermální expozice při používání diisokyanátů - v nevytvrzeném stavu.

Cílem omezení je zabránit nebezpečným použitím, nikoli však snížit dostupnost příslušných výrobků. Vzhledem k jedinečným vlastnostem PU pěn se očekává, že tyto výrobky budou i nadále široce dostupné.

Stejně jako všech PU pěn se toto nařízení týká i naší protipožární pěny. Stanovuje, že od 24. srpna 2023 budou moci všichni komerční zpracovatelé používat PU pěny pouze v případě, že předem absolvují bezpečnostní školení s příslušným dokladem.

Tato školení připravila oborová sdružení výrobců diisokyanátů ve všech jazycích Evropské unie v souladu s právními požadavky. Tyto školicí materiály jsou k dispozici prostřednictvím e-learningové platformy. Všichni zpracovatelé mohou tuto platformu najít na adrese www.safeusediisocyanates.eu.

Označení naší protipožární pěny je opatřeno příslušnou poznámkou s uvedením potřeby tohoto školení.

VÝHODY RÁMU SUCHÉ KONSTRUKCE

VÝHODY RÁMU SUCHÉ KONSTRUKCE

POKUD MÁTE RÁDI DŘEVO, BUDE SE VÁM LÍBIT NOVOPORTA PREMIO

Tesaři a ekologicky smýšlející stavitelé rádi pracují se dřevem jako obnovitelnou surovinou. Jejich nářadí je k tomu určeno, a ne k práci s kovem.

Při navrhování systému NovoPorta Premio pro nás proto bylo důležité, aby se jednoduchý a rychlý způsob šroubování vrubových profilů rámu 2140B dal použít i pro montáž na stěny s dřevěnými sloupky.

Klasifikace EI2 30 Premio nyní zahrnuje také montážní stěny EI 30 (nebo vyšší) s dřevěnými sloupky (nebo montážní stěny od F30-B), stejně jako velké množství dalších opláštěných dřevěných nosníků a trámů (minimálně EI 30 nebo R 30).

VOLBA JE NA VÁS - NABÍZÍME VŠE, CO POTŘEBUJETE PRO RYCHLOU A ČISTOU PRÁCI!

Pokud musíte zasypat jen polovinu, můžete pracovat dvakrát rychleji - zejména pokud lze i materiál vybírat flexibilně. Vzhledem k tomu, že u rámového profilu EI2 30 2140B může zůstat protiplášť zcela volný, můžete například oblast záklopu předního pláště zasypat sypkou minerální vatou. Ta je jako oblíbený výplňový materiál minimálně pro stěny F30-A nebo EI 30 obvykle již přítomna na místě instalace. U stěn se svorníky EI 30 vždy dodržujte minimální tloušťku obkladu 25 mm na každé straně stěny. To zaručuje, že nebudete muset dělat žádné prohlubně/zářezy v třístranném UA profilu, a to ani v případě použití například 3D dveřních závěsů nebo elektroinstalačních dílů. Časová úspora je zaručena!

Podrobnosti na první pohled:


Novoferm protipožární pěna Nejprve nainstalujte přední plášť, rychle a čistě vstříkněte schválenou Novoferm protipožární pěnu a poté nainstalujte protiplášť. To vám umožní efektivní práci, protože jedna plechovka pěny vystačí na dva až tři rámy.


Volná minerální vlna Pokud dáváte přednost práci s volnou minerální vlnou*, objednejte si požadované množství nebo použijte to, co je již k dispozici na stavbě v souladu se specifikací. Jednoduše nařežte odpovídající tloušťku minerální vlny na přiměřeně široké pásy a po instalaci rámu je vložte do předního pláště. Poté lze namontovat protiplášť.


Sádrokartonové lišty Jednoduše vyřízněte vhodné lišty ze stávajících sádrokartonových desek a vložte je do rámu před instalací na stěnu. Metoda, která je vždy velmi oblíbená - a především: schválená! - pokud není k dispozici pěna nebo minerální vlna.



* Minimální hustota 40 kg/m3 Teplota tání > 1 000 °C Stavební materiál třídy A1 nebo Euroclass A1

Vzbudili jsme váš zájem?

Novoferm spolupracuje s širokou sítí specializovaných prodejců v Německu - ve vašem okolí. Naši autorizovaní specializovaní prodejci Novoferm nabízejí odborné poradenství, prodej, měření, montáž, demontáž a ekologickou likvidaci našich výrobků za konkurenceschopné ceny all-inclusive.

Rádi vám pomůžeme.