OCELOVÉ INTERIÉROVÉ DVEŘE

PRO VŠECHNY OBLASTI ŽIVOTA A PRÁCE

To odpovídá vašim představám. Dveře spojují místnosti a lidi. Zajišťují bezpečnost a ochranu, vytvářejí přechody mezi různými oblastmi života a práce. Poskytují intimitu a dávají lidem možnost stáhnout se a najít klid a ticho. Pro důvěrný dialog. Pro soustředěnou práci. Pro nerušenou hru. Doma, ve škole, ve volném čase nebo v kanceláři. Proto je důležité, aby dveře skutečně "pasovaly", aby zapadly do místnosti a trvale a bezpečně plnily svou funkci. Všechny tyto vlastnosti najdete v programu interiérových dveří Novoferm. Spolehlivé výrobky pro důmyslné vybavení interiéru. S vysokou funkčností, špičkovou kvalitou a velkým prostorem pro váš osobní styl.


Vysoce kvalitní a útulné ocelové interiérové dveře Novoferm jsou obzvláště kvalitní díky 40 mm silnému dvoustěnnému dveřnímu křídlu. Kvalitní falc dodává dveřím útulný charakter.


Interiérové dveře Novoferm lzepoužít pro všechny obytné a pracovní prostory. Dveře jsou k dispozici v mnoha barvách RAL, barvách DB, metalických barvách, speciálních nátěrech a proskleních.


Působivé detaily Dveře zaujmou promyšlenými detaily. Například s integrovanou magnetickou tabulí nebo integrovaným podlahovým těsněním, které se spouští mechanicky - spouští se při zavření dveří a zabraňuje přístupu studeného vzduchu a hluku.

Porovnání a vlastnosti dveří

Srovnání interiérových dveří

Vnitřní dveře

OznačeníDveře 1+2panelySilný falc / zapuštěný falc - dostupné tloušťky dveřních panelůZkušební hodnota zvukové izolace RWpSoučinitel prostupu tepla U hodnota ve W/m2KKonstrukční rozměr mmMožnost zasklení
Vnitřní dveře

Dveře 1 +2fl.

Silný falc

26 dB1) 2)

2,3

min. 500 x 1600

max. 2500 x 2500

-

Klasické interiérové dveře

Dveře 1+2panely

Tlustý falc 0,88

30 dB1)

k. A.

min. 500 x 1600

max. 2500 x 2250

-

Přístupové dveře Super Safe

Dveře 1 křídlo.

Tlustý falc 0,7

26 dB1) 2)

2,3

min. 750 x 1875

max. 1125 x 2250

-

-Ano - Ne

1) Abs. těsnění dveří 2) Dorazová hřídel / 4stranná

Detaily vnitřních dveří

Detaily vnitřních dveří

VNITŘNÍ DVEŘE NOVOFERM - ROZHODUJÍCÍ DETAILY


DICKFALZ Kvalitní falcování dodává dveřím útulný charakter. Vysoce kvalitní konstrukce. Dvoustěnné dveřní křídlo o tloušťce 40 mm, s falcem na 3 stranách. Tato konstrukce je vizuálně působivá a dodává vratům mimořádnou stabilitu.


TĚSNĚNÍ PODLAHY Integrované těsnění podlahy, které se spouští mechanicky a spouští se při zavření dveří, udržuje chladný vzduch a hluk venku. Ve spojení s obložením z trubkových dřevotřískových desek je možné dosáhnout zvukové izolace až 30 dB.


Výplň z voštin, STYROPORU, TUBE CHIP Plně lepená voštinová výplň poskytuje bezkonkurenční stabilitu a pohlcuje jakýkoli "plechový" zvuk při klepání. Volitelně můžete mít optimalizovanou tepelnou a zvukovou izolaci s polystyrénovou výplní* nebo klasickou výplní z trubičkové dřevotřísky.


TĚSNĚNÍ RÁMU Náš výběr těsnění umožňuje různé uzavírací tlaky. Ve všech případech je spolehlivě zabráněno průvanu.


ZKRÁCENÝ KRYT DVEŘÍ Křídlo dveří lze ve spodní části zkrátit až o 20 mm pro nerovnou podlahu nebo novou podlahu.


POVRCHY Od superstandardních až po barvy RAL a DB podle vašeho výběru


PŘETOKOVÉ TĚSNĚNÍ Integrované přepadové těsnění, které při zavřených dvířkách vede po 3 mm vysokém hliníkovém profilu.


ŘEMÍNEK A ŘEMÍNKOVÝ KAZETNÍK Klasický dvoudílný řemínek, volitelně dostupný ve třech částech (k dispozici je třídílný řemínek se zámkem na řemínkový kolík), také z nerezové oceli.

Uchycení a provedení kapsy na popruh v souladu s normou DIN 18111, takže ji lze kdykoli snadno vyměnit. Lze objednat i třetí popruh


ZASKLENÍ Průhlednost nebo jas, kulaté nebo čtvercové, volitelný počet a velikost. Verze např: ESG, VSG, drátěné sklo, Mastercarré nebo předvybavené pro řešení na místě. Přídržné lišty na sklo z hliníku nebo oceli. Možnost dalších funkčních řešení pro dveřní kukátko, štěrbinu na dopisy, větrací mřížku atd.




RUKOJEŤ Novoferm nabízí provedení od klasického po moderní, možnost dodatečné montáže (provedení: barevný nebo profilový válec). VARIABILNÍ VÝŠKA RUKOJEŤE Výšku rukojeti lze přizpůsobit potřebám zdravotně postižených (850-1 200 mm) nebo individuálně pro školy, např.

Přehled vašich plusových bodů

  • Ocelové interiérové dveře pro všechny obytné a pracovní prostory
  • Vysoce kvalitní ocel a odolné, snadno udržovatelné povrchy
  • Útulný vzhled díky silnému falcu
  • Dvoustěnná dveřní křídla se zvukovou a tepelnou izolací, spolehlivé a těsné zavírání
  • K dispozici v mnoha atraktivních barvách a dekorech

TYPY, BARVY A VYBAVENÍ

BARVY PRO NADSTANDARDNÍ INTERIÉROVÉ DVEŘE

BARVY PRO NADSTANDARDNÍ INTERIÉROVÉ DVEŘE

Nadstandardní





  • Dveřní křídlo: 40 mm silné, na třech stranách oplechované z tenkého žárově pozinkovaného plechu.



  • Rám: rohový rám s elektrolytickým nátěrem, třístranným obvodovým těsněním a kompletními díly závěsu.


  • Zámek a kování: zámek BB/PZ, se sadou černých kulatých klik

  • Povrch dveřního křídla: pozinkovaný

Standardní

BARVY PRO INTERIÉROVÉ DVEŘE SUPER PLUS

BARVY PRO INTERIÉROVÉ DVEŘE SUPER PLUS

INTERIÉROVÉ DVEŘE SUPER-PLUS




  • Design jako nadstandardKromě toho však:



  • Povrch dveřního křídla: pozinkovaný a opatřený základním nátěrem práškovou barvou šetrnou k životnímu prostředí, podobnou RAL 9016, barva bílá.


Dopravní bílá podobná RAL 9016



Platinová bílá podobná RAL 9002

BARVY PRO SUPER BAREVNÉ INTERIÉROVÉ DVEŘE

BARVY PRO SUPER BAREVNÉ INTERIÉROVÉ DVEŘE

SUPERBAREVNÉ INTERIÉROVÉ DVEŘE


  • Design jako nadstandard

Ale navíc:



  • Povrch dveřního křídla: pozinkovaný a opatřený základním práškovým lakem šetrným k životnímu prostředí.

  • Možné barvy: Super-Color



Světle šedá podobná RAL 7035



Šedá barva oken podobná RAL 7040



Antracitově šedá podobná RAL 7016



Ořechově hnědá podobná RAL 8011



Sépiově hnědá podobná RAL 8014



Platinová bílá podobná RAL 9002



Ocelově modrá podobná RAL 5011



Jedlově zelená podobná RAL 6009

SPECIÁLNÍ PRIMER

SPECIÁLNÍ PRIMER

SPECIÁLNÍ NÁTĚR PRO INTERIÉROVÉ DVEŘE

  • Design jako nadstandard

Ale navíc:



  • Povrch dveřního křídla: pozinkovaný a opatřený základním práškovým lakem šetrným k životnímu prostředí.




  • Možné barvy: Barvy RAL Barvy DB Metalické barvy (kromě perleťových efektů) a speciální laky.


Barva RAL (modrá)

Vějíř barev RAL

Ventilátor v metalické barvě

SPECIÁLNÍ NÁTĚR PRO INTERIÉROVÉ DVEŘE

  • Design jako nadstandard

Ale navíc:



  • Povrch dveřního křídla: pozinkovaný a opatřený základním práškovým lakem šetrným k životnímu prostředí.




  • Možné barvy: Barvy RAL Barvy DB Metalické barvy (kromě perleťových efektů) a speciální laky.


Barva DB (702)

DB 301

DB 501

DB 601

DB 510

DB 701

DB 703

ZASKLENÍ A SVĚTELNÉ OTVORY

ZASKLENÍ A SVĚTELNÉ OTVORY


VÍCE SVĚTLA PŘES SVĚTELNÉ OTEVÍRÁNÍ Vpuštění více světla do místnosti je často důležitým kritériem při výběru a plánování interiérových dveří. Novoferm nabízí mnoho různých variant světelných otvorů a za příplatek také kruhové prosklení.

K tomu dodávané zasklívací lišty jsou volitelně k dispozici v hliníkovém nebo ocelovém provedení.


Super-Color se světelnou clonou 1


Super-Colour Se světelnou clonou 2


Super-Color S RAL podle vašeho výběru (za příplatek), se světelnou clonou 3


Super-Color S kulatým zasklením a sadou pákových rukojetí z nerezové oceli (za příplatek)

ZASKLENÍ VNITŘNÍCH DVEŘÍ

Rozhodující vliv na efekt dveří má také volba prosklení. Našim zákazníkům nabízíme následující možnosti:


  1. Prosklení (bez skla) pro sklo o tloušťce 6 mm nebo akrylátové sklo.


  2. Standardní provedení skla: sklo s drátěným ornamentem (obrázky výše, světlý otvor 1-4), světlé barvy, tloušťka 6-7 mm.


  3. Vrstvené bezpečnostní sklo (VSG, tloušťka 6 mm), tvrzené bezpečnostní sklo (ESG, tloušťka 6 mm) nebo izolační sklo (14 mm silné plavené sklo, pouze k upevnění pomocí ocelové nebo hliníkové lišty).
  4. Speciální provedení skla: Ozdobné sklo ve struktuře float skla o tloušťce 6 mm, ve třech různých provedeních: Mastercarré, Satinato a matné sklo (ilustrace vpravo) pro individuální design.
    Ta rozptylují světlo v různých odstínech a chrání před nerozvážnými pohledy.

Mastercarré

Satén

Matné sklo

SADY PÁKOVÝCH RUKOJETÍ A DALŠÍ PŘÍSLUŠENSTVÍ

SADY PÁKOVÝCH RUKOJETÍ A DALŠÍ PŘÍSLUŠENSTVÍ


SADY RUKOJÍTEKA DALŠÍHO PŘÍSLUŠENSTVÍ Shodné sady rukojetí dodají dveřím konečnou podobu. Novoferm vám nabízí širokou škálu krásně navržených variant, které vám umožní pohodlně a snadno otevírat a zavírat jakékoli dveře. Kromě standardního kování s klasickou černou sadou kulaté pákové kliky si můžete vybrat z široké nabídky příslušenství, včetně různých sad kulatých pákových klik, výměnných sad a WC sad. Standardně dodáváme v červené a bílé barvě. Speciální barvy jsou k dispozici na vyžádání. K dispozici jsou také sady rukojetí a pákových madel z lehkého kovu a nerezové oceli.

Exkluzivní příslušenství vaše dveře ještě více vylepší. Můžete si vybrat kování podle svých požadavků a příslušenství vzájemně kombinovat.


Standardní sada pákových klik BB/PZ černá s krátkou zadní deskou (profilová vložka na přání)


Sada pákových rukojetí, PZ, světlý kov


Výměnná sada, PZ, lehký kov


WC souprava, PZ, lehký kov

Sada pákových rukojetí

Vyměnitelná sada

WC-Garnitur

VÝBĚR DOSTUPNÝCH VARIANT RUKOJETÍ

Jiné tvary rukojetí jsou k dispozici na vyžádání.


Oblouk D-110


Segment D-510


Úhel D-310


Styl D-410


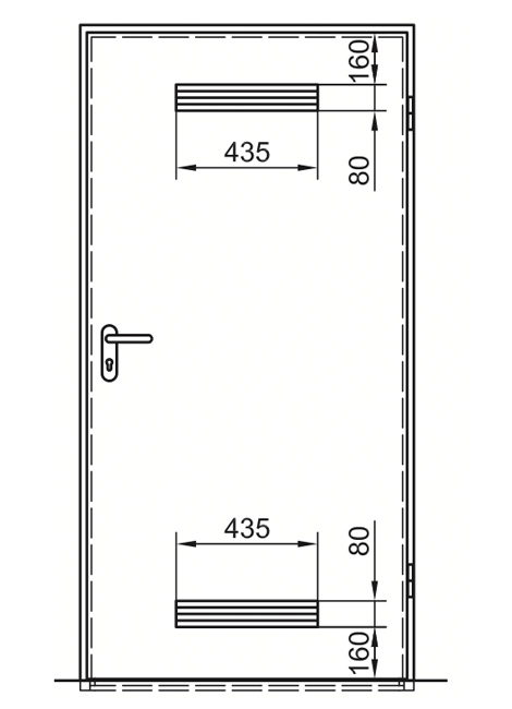
Klapka s drážkou na dopisy Stejně jako náš vzorek je záměrně jednoduchá, ale jsou možné i jiné vzory drážek na dopisy, drážek na dopisy nebo kočičích klapek atd., přičemž každý z nich odpovídá tloušťce listu 40 mm.


Větrací mřížka K dispozici v bílé, černé, hliníkovém vzhledu nebo speciálních barvách. Na vyžádání jsou k dispozici také mřížky z hliníku nebo perforovaného plechu.


Dveřní zavíračeK dispozici jsou jak zavírače horních dveří s nůžkovým ramenem, tak zavírače s posuvným kanálem. Mohou být instalovány na straně závěsu nebo na protilehlé straně závěsu.





Ocelovévnitřní dveře do dětskéhopokoje
Barva: rubínově červená, podobná RAL3003
Speciální funkce: s magnetickou tabulí





Ocelovéinteriérové dveře do pracovny
Barva: šedobílá, podobná RAL9002
Speciální funkce: s prosklením (lehké otevírání 3)





Ocelovéinteriérové dveře do pracovny
Barva: zelená Reseda, podobná RAL6011
Speciální funkce: s prosklením (světlý otvor 3)





Ocelovéinteriérové dveře do ložnice
Barva: bílá, podobná RAL9016
Speciální funkce: s prosklením (světlé otevírání 3)

Technologie a podrobnosti

Technická data - Vnitřní dveře

Základní rozměry (BR) DIN 18100 (objednací rozměry) Šířka x výška

Jmenovité rozměry DIN 18100 Šířka x výška

Světlé rozměry otvoru DIN 18111 Šířka x výška

Vnější rozměry dveřního křídla DIN 18101 Šířka x výška

Vnější rozměry rámu* Šířka x výška

1-fl.

625 x 2.000

635 x 2.005

561 x 1.968

610 x 1.985

651 x 2.043

750 x 1.875

760 x 1.880

686 x 1.843

735 x 1.860

776 x 1.918

750 x 2.000

760 x 2.005

686 x 1.968

735 x 1.985

776 x 2.043

750 x 2.125

760 x 2.130

686 x 2.093

735 x 2.110

776 x 2.168

875 x 1.875

885 x 1.880

811 x 1.843

860 x 1.860

901 x 1.918

875 x 2.000

885 x 2.005

811 x 1.968

860 x 1.985

901 x 2.043

875 x 2.125

885 x 2.130

811 x 2.093

860 x 2.110

901 x 2.168

1.000 x 1.875

1.010 x 1.880

936 x 1.843

985 x 1.860

1.026 x 1.918

1.000 x 2.000

1.010 x 2.005

936 x 1.968

985 x 1.985

1.026 x 2.043

1.000 x 2.125

1.010 x 2.130

936 x 2.093

985 x 2.110

1.026 x 2.168

1.125 x 2.125

1.135 x 2.130

1.061 x 2.093

1.110 x 2.110

1.151 x 2.168

1.250 x 2.000

1.260 x 2.005

1.186 x 1.968

1.235 x 1.985

1.276 x 2.043

1.250 x 2.125

1.260 x 2.130

1.186 x 2.093

1.235 x 2.110

1.276 x 2.168

Speciální rozměry Super-Standard do 1 250 x 2 500 mm, speciální rozměry Super-Plus do 1 250 x 2 250 mm. Super-Colour a Classic: speciální rozměry do 1 250 x 2 250 mm. *Včetně vybrání v podlaze 30 mm.

2-fl.

1.500 x 2.000**

1.510 x 2.005

1.436 x 1.968

1.485 x 1.985

1.526 x 2.043

1.750 x 2.000**

1.760 x 2.005

1.686 x 1.968

1.735 x 1.985

1.776 x 2.043

2.000 x 2.000**

2.010 x 2.005

1.936 x 1.968

1.985 x 1.985

2.026 x 2.043

2.000 x 2.125**

2.010 x 2.130

1.936 x 2.093

1.985 x 2.110

2.026 x 2.168

Speciální rozměry Super-Standard do 2 500 x 2 500 mm, speciální rozměry Super-Plus do 2 500 x 2 250 mm. Super-Colour a Classic: speciální rozměry do 2 500 x 2 250 mm. *Včetně vybrání v podlaze 30 mm **Středově dělené Všechny rozměry v mm.

 

TECHNOLOGIE PRO INTERIÉROVÉ DVEŘE

SPODNÍ UZÁVĚR DVEŘÍ

Křídlo dveří lze zkrátit v oblasti U-profilu.

Spustitelné podlahové těsnění (volitelné)

Nájezdové těsnění s plochým kulatým prahem (volitelně)



Eckzarge Profil 21 (Standard)



Obvodový rám Profil 21 Masonry



Obvodový rám Profil 23/1645 Rám pro čepy



2dílný rám pro obložení Profil 2140/1645 Zděný nebo svorníkový rám

Technická data - Světelné otvory

Rozměry

Šířka x výška

Světelný otvor 1

Šířka x výška

Světelný otvor 2

Šířka x výška

Světelný otvor 3

Šířka x výška

Světelný otvor 4

Šířka x výška

 

 

 

 

 

 

1-flg.

Standardní velikost

625 x 2.000

270 x 385

270 x 985

270 x 1.360

3 x 270 x 385

750 x 1.875

395 x 385

395 x 985

395 x 1.235

3 x 395 x 385

750 x 2.000

395 x 385

395 x 985

395 x 1.360

3 x 395 x 385

750 x 2125

395 x 385

395 x 985

395 x 1.485

3 x 395 x 385

875 x 1.875

520 x 385

520 x 985

520 x 1.235

3 x 520 x 385

875 x 2.000

520 x 385

520 x 985

520 x 1.360

3 x 520 x 385

875 x 2.125

520 x 385

520 x 985

520 x 1.485

3 x 520 x 385

1.000 x 1.875

645 x 385

645 x 985

645 x 1.235

3 x 645 x 385

1.000 x 2.000

645 x 385

645 x 985

645 x 1.360

3 x 645 x 385

1.000 x 2.125

645 x 385

645 x 985

645 x 1.485

3 x 645 x 385

1.125 x 2.125

770 x 385

770 x 985

770 x 1.485

3 x 770 x 385

1.250 x 2.000

895 x 385

895 x 985

895 x 1.360

3 x 895 x 385

1.250 x 2.125

895 x 385

895 x 985

895 x 1.485

3 x 895 x 385

2-flg.

Standardní velikost

1.500 x 2.000*

520 x 385

520 x 985

520 x 1.360

3 x 520 x 385

1.750 x 2.000

520 x 385

520 x 985

520 x 1.360

3 x 520 x 385

2.000 x 2000

645 x 385

645 x 985

645 x 1.360

3 x 645 x 385

2.000 x 2.125

645 x 385

645 x 985

645 x 1.485

3 x 645 x 385

* Zasklení pouze v aktivním křídle. Všechny rozměry v mm.

SPECIÁLNÍ VYBAVENÍ





Speciální výška pákyProhlížečdveříVětrací mřížka s perforovaným plechem Větrací průřez 175-200cm2 Další rozměry na vyžádání





Větrací mřížkavolitelně nahoře/dole,nahoře a dole Další montážní díly na přání, např. klapka na dopisy, klapka pro kočky atd.

OCHRANNÉ LIŠTY NA SKLO

LM zasklívací lišty

LM nebo V2A zasklívací lišty

Ocelové zasklívací lišty

OTEVÍRÁNÍ SVĚTLA


Lehký otvor 1-3 Provedení z LM nebo oceli, pozinkované a opatřené základním nátěrem.


Světelný otvor 4 Provedení z LM nebo oceli, pozinkované a opatřené základním nátěrem


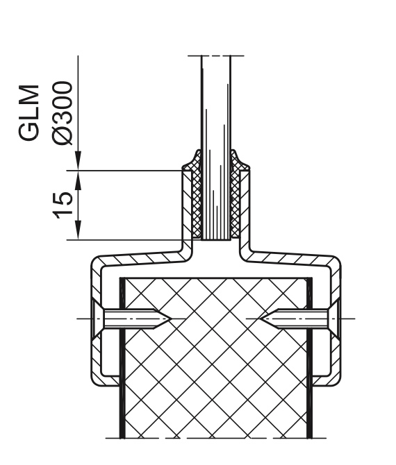
Kulaté zasklení Verze LM nebo V2A


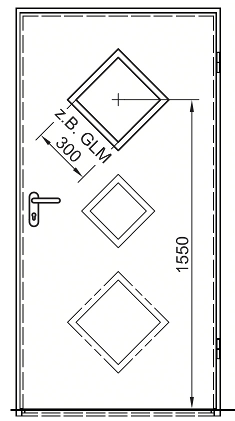
Diamantové zasklení Provedení z LM nebo oceli, pozinkované a opatřené základním nátěrem



Speciální světelné otvory (příklad 1) Provedení z oceli, pozinkované a opatřené základním nátěrem, upřesnění tvarů, rozměrů a uspořádání v závislosti na objednávce



Speciální světelné otvory (příklad 2) Provedení z oceli, pozinkované a opatřené základním nátěrem, upřesnění tvarů, rozměrů a uspořádání v závislosti na objednávce

STANDARDNÍ ZASKLÍVACÍ LIŠTY PRO OBDÉLNÍKOVÉ A KOSOČTVERCOVÉ ZASKLENÍ


Super Standard s hliníkovými přídržnými lištami na sklo, lakovatelné


Super-Plus / Super-Color s hliníkovými zasklívacími lištami, eloxované E6 EV1


Classic s hliníkovými zasklívacími lištami, eloxované E6 EV1

Vzbudili jsme váš zájem?

Novoferm spolupracuje s širokou sítí specializovaných prodejců v Německu - ve vašem okolí. Naši autorizovaní specializovaní prodejci Novoferm poskytují odborné poradenství, prodej, měření, montáž, demontáž a ekologickou likvidaci našich výrobků za konkurenceschopné ceny all-inclusive.

Rádi vám pomůžeme.