PROTIPOŽÁRNÍ A KOUŘOTĚSNÉ POSUVNÉ DVEŘE

Testovaná bezpečnost pro protipožární uzávěry v průmyslových a veřejných budovách

Mnoho velmi velkých budov, jako jsou vícepodlažní parkoviště, podzemní garáže a nákupní centra, vyžaduje speciální dveře. Důvodů je celá řada, přičemž obzvláště důležitou roli hrají bezpečnostní požadavky.

Na tyto typy protipožárních uzávěrů se vztahují evropské výrobkové normy EN 16034 ("Protipožární uzávěry") a EN 13241 ("Dveře"). Nové posuvné protipožární dveře Novoferm NovoSlide Industry byly vyvinuty speciálně pro splnění těchto náročných evropských výrobkových norem.

Jako stavební prvek s označením CE lze proto naše dveře spolehlivě používat v celé Evropě. Aby dveře splňovaly různé požadavky stavebních předpisů v Evropě, splňují všechny aktuální časové třídy

Přehled typů dveří

Požárně odolné posuvné protipožární dveře EI2 30 v 1 a 2křídlém provedení.

Vysoce požárně odolné posuvné protipožární dveře EI2 60 v 1- a 2-křídlovém provedení.

Požárně odolné posuvné protipožární dveře EI2 90 v 1- a 2-křídlovém provedení.

Vysoce požárně odolné posuvné protipožární dveře EI2 120 v 1- a 2-křídlovém provedení.

Porovnání a vlastnosti dveří

POROVNÁNÍ POSUVNÉ BRÁNY 1-KŘÍDLO

PŘEHLED PROTIPOŽÁRNÍ A KOUŘOTĚSNÉ POSUVNÉ DVEŘE 1-KŘÍDLO

Charakteristika

EI2 30

EI2 60

EI2 90

EI2 120

Plný list v konstrukci prvku

-

-

-

-

Pozinkované dveřní křídlo a okrajové profily

-

-

-

-

Klasifikace (schválení)



Vyhovuje normám DIN EN 16034 a DIN EN 13241; byl testován na protipožární vlastnosti oficiální zkušebnou v souladu s normou DIN EN 1634-1.



Vyhovuje normám DIN EN 16034 a DIN EN 13241; byl testován na protipožární vlastnosti oficiální zkušebnou podle DIN EN 1634-1.



Vyhovuje normám DIN EN 16034 a DIN EN 13241; byl testován na protipožární vlastnosti oficiální zkušebnou podle DIN EN 1634-1.



Vyhovuje normám DIN EN 16034 a DIN EN 13241; byl testován na protipožární vlastnosti oficiální zkušebnou podle DIN EN 1634-1.

Verze

EI2 30

-

EI2 60

-

EI2 90

-

EI2 120

-

Ochrana proti kouřiSa (plný list)*


- Do 8 500 x 6 000 mm (max. 46,5 m²) - V Německu (do 8 500 x 6 000 mm) (max. 46,5 m²)


° Do 8 500 x 6 000 mm (max. 46,5 m²) - V Německu (do 8 500 x 6 000 mm) (max. 46,5 m²)


° Do 8 500 x 6 000 mm (max. 46,5 m²) - V Německu (do 8 500 x 6 000 mm) (max. 46,5 m²)


° Do 8 500 x 6 000 mm (max. 46,5 m²) - V Německu (do 8 500 x 6 000 mm) (max. 46,5 m²)

Ochrana proti kouři S200 (plná křídla)*

- Do max. 30,4 m2

° Do max. 30,4m2

° Do max. 30,4m2

° Do max. 30,4m2

S brzdou zavírání dveří (radiální klapka)

-

-

-

-

Také se systémem přidržení otevření

°

°

°

°

popis
Povolené rozměry


Světlý otvor od horního okraje hotové podlahy 1 000 x 2 000 mm až 8 500 x 6 000 mm (max. 50 m2)


Světlý otvor od horní hrany hotové podlahy 1 000 x 2 000 mm až 8 500 x 6 000 mm (max. 50m2)


Světlý otvor od horní hrany hotové podlahy 1 000 x 2 000 mm až 8 500 x 6 000 mm (max. 50m2)


Světlý otvor od horní hrany hotové podlahy 1 000 x 2 000 mm až 8 500 x 6 000 mm (max. 50m2)

Dveřní křídlo: tloušťka cca 72 mm, plech 0,75 mm, hmotnost prvku cca 54 kg/m2.

-

-

-

-



Požadované překrytí světlého průchozího otvoru dveřním křídlem

Po stranách každý


≥ 0 150 u vchodu 1) ≥ 195 v prostoru parkoviště 1)


≥ 150 u vstupu do dveří 1) ≥ 195 ve skladovací oblasti1)


≥ 150 u dveřního vstupu 1) ≥ 195 v parkovacím prostoru1)


≥ 150 u vstupu do dveří 1) ≥ 195 v parkovací oblasti1)

U nadpraží

≥ 120 1)

≥ 120 1)

≥ 120 1)

≥ 120 1)

Pro montáž pod omítku

≥ 120 1)

≥ 120 1)

≥ 120 1)

≥ 120 1)

Parkovací plocha pro otevřené dveře (s předním závažím)

LD + 495 1)

LD + 495 1)

LD + 495 1)

LD + 495 1)

Požadovaná výška nadpraží

Normální montáž nadpraží na stěnu

≥ 250 1)

≥ 250 1)

≥ 250 1)

≥ 250 1)

Instalace pod strop (přítomnost nadpraží)

≥ 150 1)

≥ 150 1)

≥ 150 1)

≥ 150 1)

Montáž pod omítku s krytem nadpraží

≥ 150 1)

≥ 150 1)

≥ 150 1)

≥ 150 1)


Opláštěný ocelový sloup (podle statického výpočtu)

≥ 250 1)

≥ 250 1)

≥ 250 1)

≥ 250 1)


Vzdálenost od požární stěny potřebná pro podpěry v úložném prostoru

Bez vrátek

≥ 200

≥ 200

≥ 200

≥ 200

S vrátky

≥ 230

≥ 230

≥ 230

≥ 230

 

 

 

Práh pro otevření a parkovací plochu


Vyžaduje se pouze u kouřotěsných dveří S200: Zapuštěné:





Práh zapuštěný do podlahy výhradně na místě před instalací dveří, po konzultaci s firmou Novoferm Povrchová montáž: Tolerance rovinnosti pro hotovou podlahu s prahem pro povrchovou montáž v prostoru otvoru a parkovacího stání podle DIN 18202, tabulka 3, řádek 4 Volitelně:


V případě rovných, hladkých podlah bez spár v oblasti otvoru a odkládacího prostoru (max. tolerance 5 mm na celé ploše otvoru).


Vyžaduje se pouze u kouřotěsných dveří S200: zapuštěné:





Práh zapuštěný do podlahy výhradně na místě před instalací dveří, po konzultaci s firmou Novoferm Povrchová montáž: Tolerance rovinnosti pro hotovou podlahu s povrchově namontovaným prahem v oblasti otvoru a stání podle DIN 18202, tabulka 3, řádek 4 Volitelně:


V případě rovných, hladkých podlah bez spár v oblasti otvoru a odkládacího prostoru (max. tolerance 5 mm na celé ploše otvoru).


Vyžaduje se pouze u kouřotěsných dveří S200: zapuštěné:





Práh zapuštěný do podlahy výhradně na místě před instalací dveří, po konzultaci s firmou Novoferm Povrchová montáž: Tolerance rovinnosti pro hotovou podlahu s povrchově namontovaným prahem v oblasti otvoru a stání podle DIN 18202, tabulka 3, řádek 4 Volitelně:


V případě rovných, hladkých podlah bez spár v oblasti otvoru a odkládacího prostoru (max. tolerance 5 mm na celé ploše otvoru).


Vyžaduje se pouze u kouřotěsných dveří S200: zapuštěné:





Práh zapuštěný do podlahy výhradně na místě před instalací dveří, po konzultaci s firmou Novoferm Povrchová montáž: Tolerance rovinnosti pro hotovou podlahu s povrchově namontovaným prahem v oblasti otvoru a stání podle DIN 18202, tabulka 3, řádek 4 Volitelně:


V případě rovných, hladkých podlah bez spár v oblasti otvoru a odkládacího prostoru (max. tolerance 5 mm na celé ploše otvoru).

Doplňkové služby

Křídlové dveře Sa včetně zavírače dveří

° Do max. 46,5 m²

° Do max. 46,5 m²

° Do max. 46,5 m²

° Do max. 46,5 m²

Křídlové dveře S200 včetně zavírače dveří

° Do max. 23,4 m²

° Do max. 23,4 m²

° Do max. 23,4 m²

° Do max. 23,4 m²

Křídlové dveře v zákrytu

° Do max. 23,4 m²

° Do max. 23,4 m²

° Do max. 23,4 m²

-

Zámek s hákovým zámkem

°

°

°

°

Tupý boční vstupní panel

°

°

°

°

Tupá montáž na strop

°

°

°

°

Pomůcka pro elektrické otevírání

°

°

°

°

Zasklívání

-

-

-

-

Funkce volnoběhu

-

-

-

-

Stropní/nízké klapky

-

-

-

-

Bezpečnostní brzdové lišty

-

-

-

-

LD = světlá výška OKF = horní hrana hotové podlahy - = standardně ° = jako volitelné příslušenství - = v současné době není k dispozici Všechny rozměry v mm.

POROVNÁNÍ POSUVNÝCH BRAN 2-KŘÍDLÉ

PŘEHLED PROTIPOŽÁRNÍ A KOUŘOTĚSNÉ POSUVNÉ DVEŘE 2-KŘÍDLÉ

Charakteristika

EI2 30

EI2 60

EI2 90

EI2 120

Plný list v konstrukci prvku

-

-

-

-

Pozinkované dveřní křídlo a okrajové profily

-

-

-

-

Klasifikace (schválení)



Vyhovuje normám DIN EN 16034 a DIN EN 13241; byl testován na protipožární vlastnosti oficiální zkušebnou v souladu s normou DIN EN 1634-1.



Vyhovuje normám DIN EN 16034 a DIN EN 13241; byl testován na protipožární vlastnosti oficiální zkušebnou podle DIN EN 1634-1.



Vyhovuje normám DIN EN 16034 a DIN EN 13241; byl testován na protipožární vlastnosti oficiální zkušebnou podle DIN EN 1634-1.



Vyhovuje normám DIN EN 16034 a DIN EN 13241; byl testován na protipožární vlastnosti oficiální zkušebnou podle DIN EN 1634-1.

Verze
EI2 30

-

EI2 60

-

EI2 90

-

EI2 120

-

Ochrana proti kouřiSa (plný list)*


- Do 8 500 x 6 000 mm (max. 46,5 m²) - V Německu (do 8 500 x 6 000 mm) (max. 46,5 m²)


° Do 8 500 x 6 000 mm (max. 46,5 m²) - V Německu (do 8 500 x 6 000 mm) (max. 46,5 m²)


° Do 8 500 x 6 000 mm (max. 46,5 m²) - V Německu (do 8 500 x 6 000 mm) (max. 46,5 m²)


° Do 8 500 x 6 000 mm (max. 46,5 m²) - V Německu (do 8 500 x 6 000 mm) (max. 46,5 m²)

Ochrana proti kouři S200 (plná křídla)*

- Do max. 28,3 m2

° Do max. 28,3m2

° Do max. 28,3m2

° Do max. 28,3m2

S brzdou zavírání dveří (radiální klapka)

-

-

-

-

Také se systémem přidržení otevření

°

°

°

°

popis
Povolené rozměry


Světlý otvor od horního okraje hotové podlahy 1 000 x 2 000 mm až 8 500 x 6 000 mm (max. 50 m2)


Světlý otvor od horní hrany hotové podlahy 2 000 x 2 000 mm až 8 500 x 6 000 mm (max. 50m2)


Světlý otvor od horní hrany hotové podlahy 2 000 x 2 000 mm až 8 500 x 6 000 mm (max. 50m2)


Světlý otvor od horní hrany hotové podlahy 2 000 x 2 000 mm až 8 500 x 6 000 mm (max. 50m2)

Dveřní křídlo: tloušťka cca 72 mm, plech 0,75 mm, hmotnost prvku cca 54 kg/m2.

-

-

-

-



Požadované překrytí světlého průchozího otvoru dveřním křídlem
Na každé straně

≥ 195 v úložném prostoru 1)

≥ 195 v úložném prostoru 1)

≥ 195 v úložném prostoru 1)

≥ 195 v parkovacím prostoru 1)

U nadpraží

≥ 120 1)

≥ 120 1)

≥ 120 1)

≥ 120 1)

Pro montáž pod omítku

≥ 120 1)

≥ 120 1)

≥ 120 1)

≥ 120 1)

Parkovací plocha pro otevřené dveře

Polovina LD +600 1) pro každé křídlo

Polovina LD +600 1) pro každé křídlo

Polovina LD +600 pro každé křídlo 1)

Polovina LD +600 1) na každé křídlo

Požadovaná výška nadpražíNormální montáž nadpraží na stěnu

≥ 250 1)

≥ 250 1)

≥ 250 1)

≥ 250 1)

Instalace pod strop (přítomnost nadpraží)

≥ 150 1)

≥ 150 1)

≥ 150 1)

≥ 150 1)

Montáž pod omítku s krytem nadpraží

≥ 150 1)

≥ 150 1)

≥ 150 1)

≥ 150 1)


Opláštěný ocelový sloup (podle statického výpočtu)

≥ 250 1)

≥ 250 1)

≥ 250 1)

≥ 250 1)


Vzdálenost od požární stěny potřebná pro podpěry v úložném prostoru
Bez vrátek

≥ 200

≥ 200

≥ 200

≥ 200

S vrátky

≥ 230

≥ 230

≥ 230

≥ 230

 

 

 

Práh pro otevření a parkovací plochu


Vyžaduje se pouze u kouřotěsných dveří S200:Zapuštěné:





Práh zapuštěný do podlahy výhradně na místě před instalací dveří, po konzultaci s firmou NovofermPovrchová montáž: Tolerance rovinnosti pro hotovou podlahu s prahem pro povrchovou montáž v prostoru otvoru a parkovacího stání podle DIN 18202, tabulka 3, řádek 4Volitelně:


V případě rovných, hladkých podlah beze spár v oblasti otvoru a odkládací plochy (max. tolerance 5 mm v celé oblasti otvoru).


Vyžaduje se pouze u kouřotěsných dveří S200: zapuštěné:





Práh zapuštěný do podlahy výhradně na místě před instalací dveří, po konzultaci s firmou Novoferm Povrchová montáž: Tolerance rovinnosti pro hotovou podlahu s povrchově montovaným prahem v oblasti otvoru a stání podle DIN 18202, tabulka 3, řádek 4 Volitelně:


V případě rovných, hladkých podlah beze spár v oblasti otvoru a odkládací plochy (max. tolerance 5 mm v celé oblasti otvoru).


Vyžaduje se pouze u kouřotěsných dveří S200: zapuštěné:





Práh zapuštěný do podlahy výhradně na místě před instalací dveří, po konzultaci s firmou Novoferm Povrchová montáž: Tolerance rovinnosti pro hotovou podlahu s povrchově montovaným prahem v oblasti otvoru a stání podle DIN 18202, tabulka 3, řádek 4 Volitelně:


V případě rovných, hladkých podlah beze spár v oblasti otvoru a odkládací plochy (max. tolerance 5 mm v celé oblasti otvoru).


Vyžaduje se pouze u kouřotěsných dveří S200: zapuštěné:





Práh zapuštěný do podlahy výhradně na místě před instalací dveří, po konzultaci s firmou Novoferm Povrchová montáž: Tolerance rovinnosti pro hotovou podlahu s povrchově montovaným prahem v oblasti otvoru a stání podle DIN 18202, tabulka 3, řádek 4 Volitelně:


V případě rovných, hladkých podlah bez spár v oblasti otvoru a odkládacího prostoru (max. tolerance 5 mm na celé ploše otvoru).

Doplňkové služby
Křídlové dveřeSa / S200 včetně zavírače dveří

° S200: do max. 23,9 m²

Sa: do max. 46,5 m²

° S200: Do max. 23,9m2

Sa: do max. 46,5m2

° S200: do max. 23,9m2

° Sa: do max. 46,5m2

° S200: do max. 23,9m2

° Sa: do max. 46,5m2

Křídlové dveře v zákrytu

°

°

°

-

Zámek s hákovou západkou

°

°

°

°

Tupá montáž na strop

°

°

°

°

Pomůcka pro elektrické otevírání

Na vyžádání

Na vyžádání

Na vyžádání

Na vyžádání

Zasklení

-

-

-

-

Funkce volnoběhu

-

-

-

-

Stropní/nízké klapky

-

-

-

-

LD = světlý průchozí rozměr OKF = horní hrana hotové podlahy- = Standardně ° = Volitelně - = V současné době není k dispozici Všechny rozměry v mm.
Nejdůležitější informace

Nejdůležitější informace

OPTIMÁLNÍ SYSTÉM PRO VŠECHNY APLIKACE POŽÁRNÍ OCHRANY


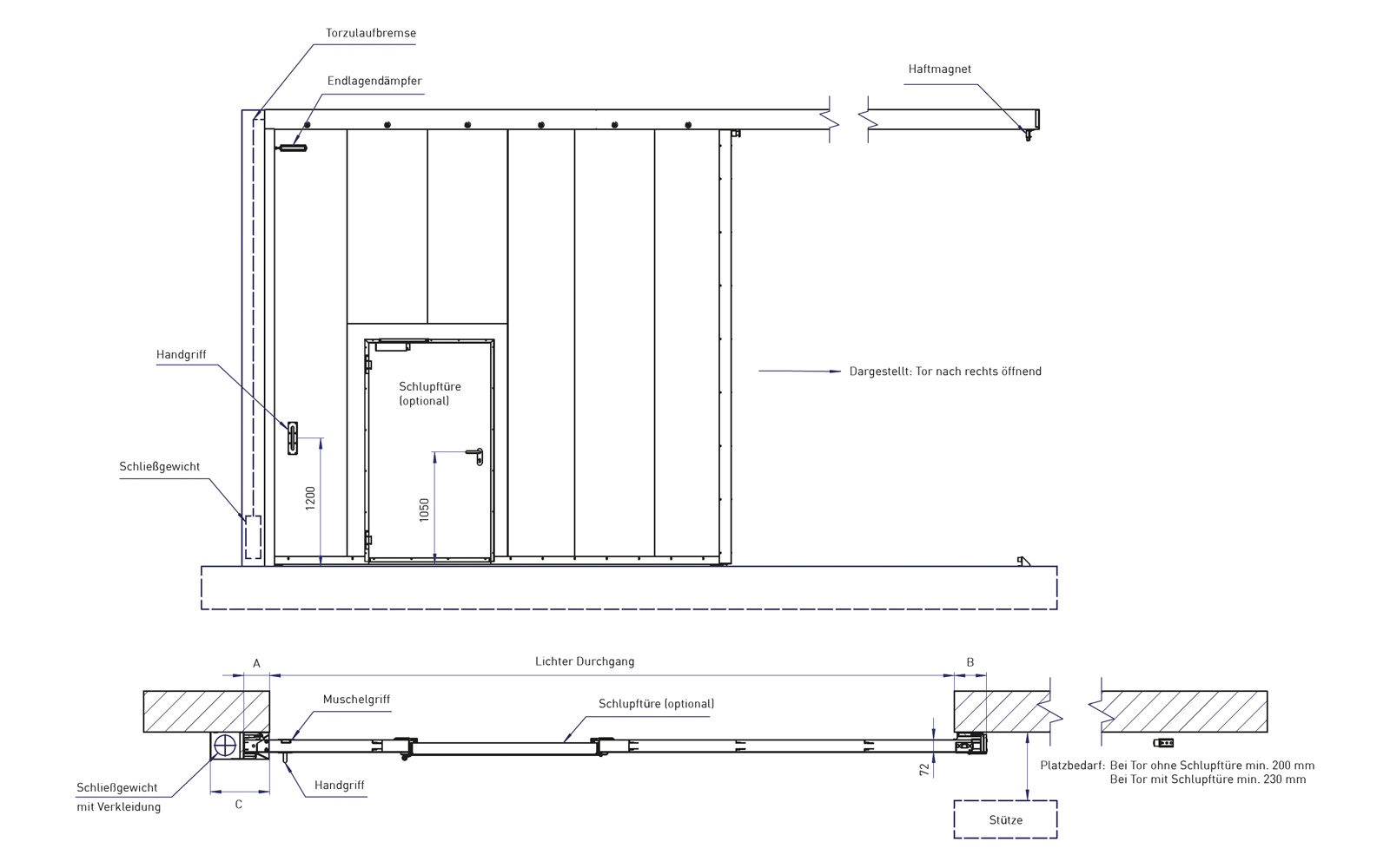
HLADKÁ OPTIKA I PRO VELKÉ DVEŘE Ploché plochy1 a neviditelné připojení panelu na přední straně zajišťují jednotný, atraktivní vzhled. Obložení kolejnic a schránky protizávaží rovněž zajišťuje mimořádně jednolitý vzhled.


Elegantní křídlové dveře Křídlové dveře2 umožňují snadný průchod při zavřených dveřích a jsou v podstatě bezprahové bez spodního dorazového profilu. Tím je zajištěno, že při průchodu nehrozí nebezpečí zakopnutí. Díky úzkým rámům působí nenápadně a elegantně.


SNADNÁ MONTÁŽ A POUŽITÍ Posuvné protipožární dveře Novoferm3 se vyznačují mnoha výhodami. Jsou vhodné jak pro běžnou nadpraží, tak pro instalaci pod omítku. Ve fázi užívání tyto dveře přesvědčí svými vynikajícími pojezdovými vlastnostmi. Posuvné požární dveře se často instalují ve velkých rozměrech. Díky konstrukci prvků, která je vhodná pro přepravu a montáž, lze snadno realizovat i velké rozměry dveří.


DVEŘE, JAKÉ POTŘEBUJETE Přizpůsobte si jednokřídlé nebo dvoukřídlé posuvné protipožární dveře na míru svému objektu. Umožňují to naše četné varianty vybavení. Chcete, aby dveře zůstaly po většinu času otevřené?

Žádný problém, systém hold-open 4 s odjišťovacím zařízením zajistí, že se dveře v případě požáru spolehlivě zavřou. Dodatečná optická a akustická signalizace, která je součástí standardní výbavy, zajišťuje dodatečnou bezpečnost dveří se systémem hold-open.


TICHÁ OCHRANA PROTI POŽÁRU Společnost Novoferm důsledně vyvíjí kombinovanou ochranu proti kouři a požáru. To znamená, že v případě vhodných podlahových podmínek lze upustit od prahů v celé otevírací a parkovací oblasti5 vrat.

UPOZORŇUJE NA NOVOSLIDE INDUSTRY

ŠPIČKOVÁ PROTIPOŽÁRNÍ OCHRANA EI2 120


Posuvné protipožární dveře oddělují různé požární úseky v budovách. Posuvné protipožární dveře NovoSlide Industry plní tento úkol obzvláště dobře díky snadné instalaci a vynikajícím protipožárním vlastnostem.

Vzhledem k tomu, že posuvné protipožární dveře NovoSlide Industry se skládají z jednotlivých komponentů, které jsou pokud možno předem smontovány ve výrobním závodě, je instalace jednoduchá a lze ji provést rychle. Zejména řazení jednotlivých panelů v kolejnici šetří čas, protože každý panel je vybaven samostatným válečkem.

Vrata NovoSlide Industry se rovněž osvědčují jako vysoce požárně odolná s ohledem na dosažitelnou třídu požární ochrany, neboť jsou testována dokonce až do třídy požární ochrany EI2 120. Po 120 minutách je teplota v požární zkušební peci výrazně vyšší než 1 000 °C. Při těchto teplotách jsou nejen vrata, ale i zdivo zkušební stěny vystaveny nejvyššímu namáhání. I za těchto podmínek nesmí posuvné dveře při požární zkoušce vykazovat prakticky žádné deformace a musí splňovat extrémně přísné specifikace z hlediska uzavření prostoru a tepelné izolace.

Evropská norma

Evropská norma

Na posuvné požárně odolné dveře jako na požárně odolné uzávěry se vztahují evropské výrobkové normy EN 16034 (Dveře, vrata a okna - Norma výrobku, užitné vlastnosti - Vlastnosti pro ochranu proti ohni a/nebo kouři) a EN 13241 (Brány - Norma výrobku, užitné vlastnosti). Tyto požárně odolné uzávěry jsou klasifikovány podle normy EN 13501-2 (Klasifikace stavebních výrobků a stavebních prvků z hlediska jejich reakce na oheň - Část 2: Klasifikace na základě výsledků zkoušek požární odolnosti). Nové protipožární posuvné dveře Novoferm NovoSlide Industry byly speciálně vyvinuty tak, aby splňovaly tyto náročné evropské výrobkové normy.

V souladu s nařízením o stavebních výrobcích, které upravuje uvádění stavebních výrobků na trh v Německu a Evropské unii, musí být stavební výrobky, na které se vztahuje evropská výrobková norma, opatřeny označením CE a prohlášením o vlastnostech (DOP).

To platí pro posuvné protipožární dveře po skončení fáze koexistence národních a evropských předpisů. Takto označené dveře lze používat ve všech členských státech Evropské unie (CEN).

Kromě evropských norem je vždy nutné dodržovat příslušné národní požadavky stavebního práva, které budou i nadále v kompetenci jednotlivých zemí a nebudou harmonizovány na evropské úrovni.

Například v Německu tyto požadavky stavebního práva na protipožární a kouřotěsné dveře v podstatě definuje vzorový správní předpis "Technische Baubestimmungen" (MVV-TB).

Kromě tříd požární ochrany EI2 30 a EI2 90 vyžaduje MVV-TB také výkonnostní charakteristiky těsného zavírání (Sa) a trvanlivost samozavírání (C2).

Prohlášení o vlastnostech (DOP) / požární zkouška: pohled na dveře po 130 minutách

Podrobnosti o posuvných branách

Podrobnosti o posuvných branách

TECHNICKÝ POPIS

Vysoká funkčnost, atraktivní design a inovativní detaily charakterizují protipožární a kouřotěsné posuvné dveřní systémy od společnosti Novoferm. Jsou vhodné pro mnoho konstrukčních situací a harmonicky zapadají do různých architektonických koncepcí průmyslových a komerčních budov.


CERTIFIKACE (SCHVÁLENÍ) Každá konstrukce odpovídá normám DIN EN 16034 a DIN EN 13241 a její protipožární vlastnosti byly testovány oficiální zkušebnou v souladu s normou DIN EN 1634. Všechny dveře jsou certifikovány odpovídajícími zkouškami odolnosti (testovaná trvanlivost samozavírání podle EN 12605 s 50 000 cykly (třída C3)). Volitelně také s klasifikací ochrany proti kouřiSa (těsné zavírání - s 3stranným těsnicím systémem) nebo S200 (kouřotěsné - se 4stranným obvodovým těsnicím systémem).


INSTALACE Stěna, do které má být protipožární uzávěr instalován, a jeho upevnění musí splňovat požadavky klasifikace (viz popis jednotlivých typů dveří). Podlaha v prostoru dveří musí být nehořlavá (třída stavebního materiálu A1). Poznámka: Pokud jsou posuvné dveře v úložném prostoru obloženy na místě, jsou nezbytné revizní otvory potřebné pro údržbářské práce.

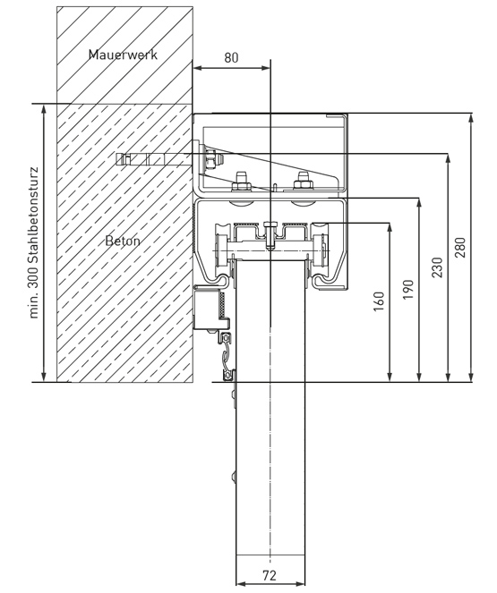
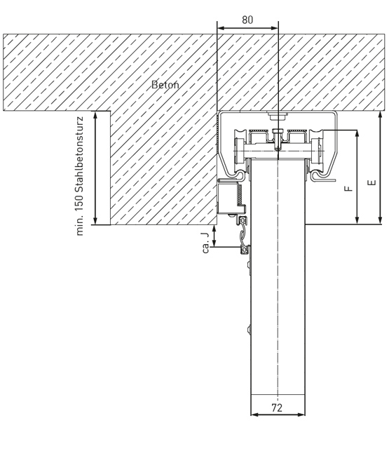
NÁVRHY LINTELŮ

  • Standardní provedení normální nadpraží vyžaduje výšku nadpraží cca 250 mm.
  • U speciálního provedení pro montáž pod strop stačí výška nadpraží minimálně 150 mm.
  • Pro montáž pod omítku má kryt nadpraží výšku 150 mm. Vezměte prosím na vědomí také typy upevnění na straně 20.


PLECH DVEŘÍ Z pozinkovaného, speciálně strojově rovnaného plechu o tloušťce 0,75 mm s protipožární izolací. Dveřní křídlo sestavené z jednotlivých, na dveřní křídlo vysokých prvků, s rovným povrchem prvků přilepením plechového pláště k protipožární izolaci (dodává se v jednotlivých panelech). Není nutná žádná výšková spára ani u vysokých dveří do 6 m.


TĚSNĚNÍ Těsnicí profily na třech stranách po celém obvodu, vyžadované stavebními předpisy v Německu. Dodatečný těsnicí systém mezi jednotlivými panely pro dosažení minimálních požadavků na kouřotěsnostSa. Není nutné spojování spár panelů. Volitelně k dispozici také se čtyřstranným obvodovým kouřotěsným systémem jako S200.


KOVÁNÍ Uzavřený kolejnicový systém s jedním nosným válečkovým systémem na panel pro snadný pohyb vrat, uzavřený kolejnicový systém s individuálně montovanými konstrukcemi nosných konzol, včetně hydraulického koncového tlumiče, zavíracího závaží v pozinkovaném obkladovém boxu, vnitřního podlahového vedení, jakož i ruční a skořepinové kliky z nerezové oceli jako standard.


BRÁNA ZAVÍRÁNÍ (RADIÁLNÍ TLUMIČ) Plynule nastavitelná v rozmezí 0,08 až 0,3 m/s pro regulaci rychlosti zavírání.

MOŽNÉ VARIANTY/ZVLÁŠTNÍ VYBAVENÍ


SYSTÉM FIXNÍHO ODSTRAŇOVÁNÍ- FIXNÍ ODSTRAŇOVACÍ A SPOUŠTĚCÍ ZAŘÍZENÍ Pro dveře, které musí z provozních důvodů zůstat z větší části otevřené, sestávající z: požárních hlásičů ve schváleném množství, magnetu pro zadržení otevření, řídicího centra systému zadržení otevření s integrovaným tlačítkem (povrchová montáž) typu FSZ (provoz s 230V/ovládací napětí 24V). V případě požáru se dveře automaticky zavřou prostřednictvím požárních hlásičů, v opačném případě stisknutím uvolňovacího tlačítka. Navíc vybaveno opticko-akustickým signalizačním zařízením, které je vyžadováno podle normy DIN EN 12604. Volitelně lze vrata ovládat také prostřednictvím požárního poplachového systému na místě.


Poznámka: Po instalaci musí provozovatel na vlastní náklady zajistit přejímací zkoušku systému hold-open a jeho další pravidelné monitorování certifikovaným odborníkem (viz schválení typu systému hold-open). Rádi vám nabídneme odpovídající smlouvu o údržbě.


Křídlovédveře a křídlové dveře s ochranou proti kouři Křídlové dveřeEI2 30 až EI2 120, standardně s ochranou proti kouřiSa (těsné zavírání - 3stranný těsnicí profil), ochrana proti kouři S200 (4stranný obvodový těsnicí systém), instalované v křídle dveří mezi dvěma prvky, standardně bez spodního prahu, rozměr dveří 1 000 x 2 000 mm LD (světlý průchozí rozměr). Křídlové dveře bez prahu lze instalovat pouze od světlé šířky otvoru ve stěně 2 500 mm a výšky 2 250 mm. Kování: 2 třídílné závěsy s kuličkovými ložisky, 1 dveřní zavírač DIN EN 1154, 1 zadlabací zámek DIN 18250 s výměnou za profilovou vložku, volitelně s antipanikovou funkcí, sada plochých pákových klik z nerezové oceli s krátkou zadní deskou.
Alternativně je k dispozici také s dveřním křídlem do zákrytu EI2 30 až EI2 90.


ELEKTRICKÁ POMŮCKA PRO OTEVÍRÁNÍ Pro otevírání pomocí speciálního ovládání se samostatným třícestným tlačítkem v ovládání mrtvého muže (provoz s napětím 400 V). Ovládací jednotka je navíc chráněna detektorem kouře v souladu s novými požadavky. Zavírání pomocí uvolňovacího tlačítka systému Hold-open nebo samostatného tlačítka "Zavřít dveře"; otevírání pomocí samostatného tlačítka "Otevřít dveře" (zejména u větších dveří, pokud ruční otevírání vyžaduje značnou sílu). V případě požáru přestane pohon pracovat a dveře se automaticky zavřou díky zavíracímu závaží. Poznámka: U vrat s elektrickým pomocným otevíráním musí provozovatel na vlastní náklady zajistit provedení potřebných zkoušek odborníky (viz pokyny pro vrata s elektrickým pohonem).


POVRCHOVÁ ÚPRAVA DVEŘÍ Standardně pozinkovaná, včetně okrajových profilů dveřního křídla; volitelně svitkový nátěr pouze panelů dveřního křídla (oblázkově šedá, podobná RAL 7032) nebo s nátěrem RAL dle vlastního výběru, včetně okrajových profilů dveřního křídla, krytů a obložení.


ZÁMEK S Pružinovým zámkem, ovládaným klíčem, určeným pro profilové vložky, k zajištění zavřených dveří. K dispozici také se šroubovým kontaktem.


NÁSTĚNKY PRO MONTÁŽ NA VRCHOL S krytem nadpraží (výška 150 mm).

Přehled vašich plusových bodů

  • V třídách požární ochrany EI 30, EI 60, EI 90 a EI 120.
  • Výrazné zlepšení snadnosti instalace, zejména díky novému systému těsnění, třístrannému obvodovému jako S(a) nebo čtyřstrannému obvodovému jako S(200) provedení.
  • Plná dostupnost dvoukřídlého provedení NSI, také s ochranou proti kouři S(a) / S(200) a až do třídy požární ochrany EI 120.
  • Zásuvné ovládací centrum systému otevírání s aretací (typ FSZ-Basis) jako standard pro vrata s aretací z výroby.

     

  • Zavírací závaží nebo přídržný magnet, který je k dispozici také vychýlený dozadu do strany (např. pro vrata s omezeným prostorem na parkovišti).
  • Obzvláště rychlá a snadná instalace
  • Mnoho jednotlivých komponent předem smontovaných ve výrobním závodě šetří čas na stavbě
  • Panely se snadno vyrovnávají díky samostatnému válečku pro každý panel
  • Těsnění panelů silikonem na stavbě není u S(a) a S(200) nutné, protože těsnění mezi spoji panelů je zajištěno těsněním namontovaným již ve výrobě.
  • Křídlové dveře se otevírají také do zákrytu až do EI 90

Technologie a podrobnosti

Pomůcky pro plánování

Pomůcky pro plánování

EI2 30/ EI2 60/ EI2 90/ EI2120 - 1-FLÜGELIGE BAUART

EI2 30/ EI2 60/ EI2 90/ EI2120 - 2-FLÜGELIGE BAUART




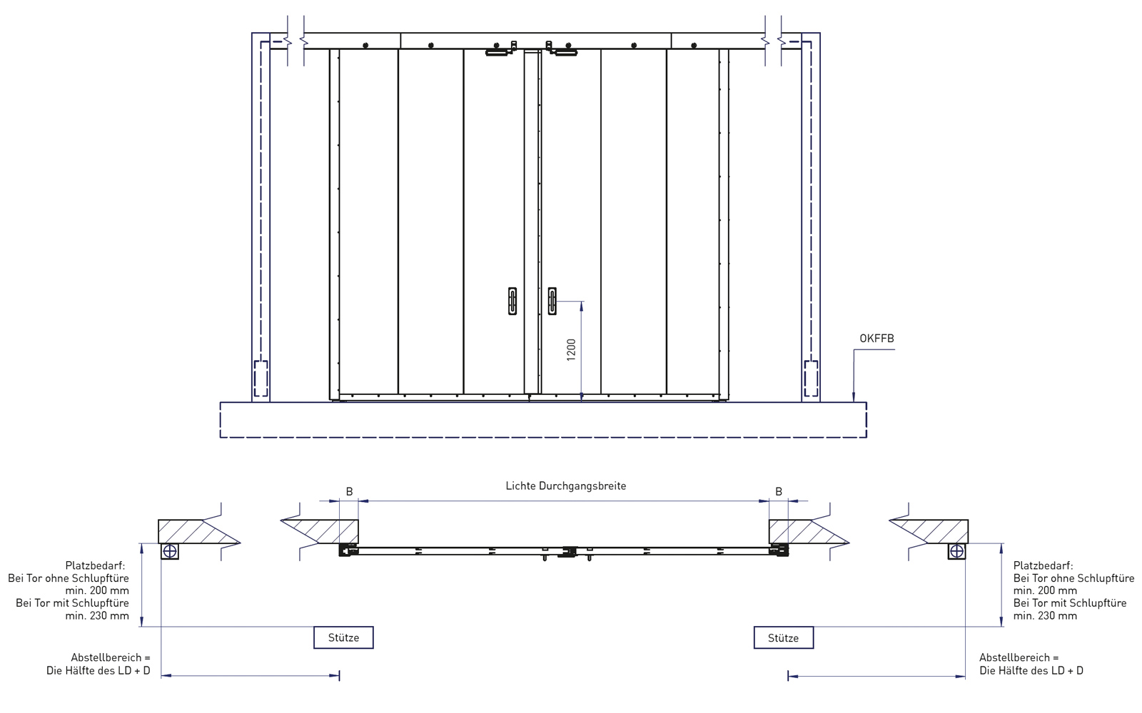
LD = světlý průchozí rozměr OKF = horní hrana hotové podlahy Všechny rozměry v mm

TECHNICKÉ ÚDAJE OCHRANA PROTI KOUŘI

VÝŠKA VÝSTUPKŮ

E

F

G

H

K


Světlá výška od do


Spodní část nadpraží - Horní část kolejnice


Spodní část nadpraží - Horní část dveřního křídla


Středový otvor od spodní části nadpraží


Dno nadpraží - horní část panelu


Minimální výška nadpraží

2.000 - 4.560

150

120

190

240

250

4.561 - 6.000 (6.560)

170

140

210

260

270

Všechny rozměry v mm.

 

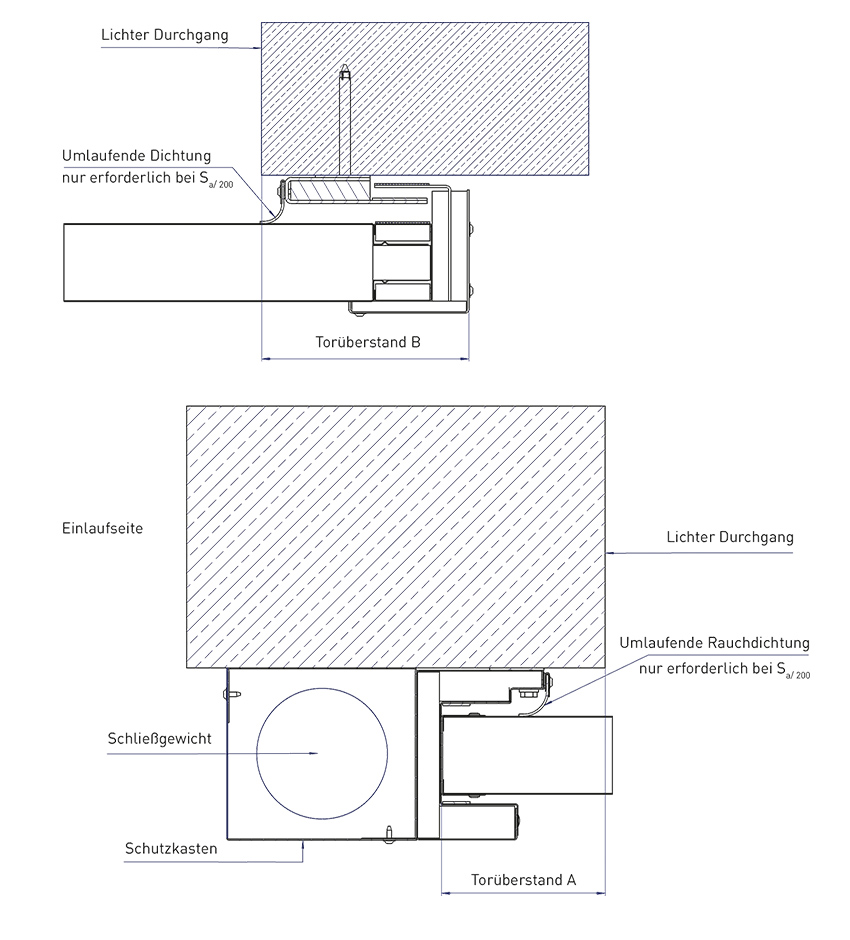
POŽADOVANÉ VÝSTUPKY


Světlá šířkaod do

A

B

1.000 - 4.870

150

195

4.871 - 6.870

170

215


6,871 - 8,500(8,870)

190

235


Maximální výčnělek: 300 mm (s předním hákovým zámkem max. 220 mm)

 

ŠÍŘKA POTŘEBNÉHO PROSTORU SE STANDARDNÍMI PŘEVISY

Pro přední váhu:

Se zadním závažím:

C

D

C

D


Světlá šířkaod do

Vstupní strana

Parkovací plocha

Vstupní strana

Parkovací plocha

1.000 - 4.870

360

495

180

675

4.871 - 6.870

380

535

200

715


6,871 - 8,500(8,870)

400

575

220

755

 

Poznámky - Pomůcky pro plánování

  • Dodržujte požadavky na konstrukci a klasifikaci požárních stěn podle montážních pokynů.
  • U zdiva a pórobetonu je v oblasti otvoru dveří vyžadováno betonové nadpraží. U pórobetonu je vyžadováno betonové nadpraží také v oblasti stání.
  • Počítejte s prostorem potřebným na straně pro odstavení křídla při otevřené posuvné bráně (parkovací plocha), případně včetně zavíracího závaží s boxem.
  • V oblasti parkování posuvné brány ponechte dostatečnou vzdálenost k případným podpěrám, obložení nebo jiným konstrukcím (pro konstrukci brány včetně kliky a v oblasti nadpraží pro brzdu zavírání brány nebo elektrický pohon, také pro křídlové dveře se zavíračem).
TYPY KONSTRUKCÍ A TYPY OTVORŮ

TYPY KONSTRUKCÍ A TYPY OTVORŮ

Typy


Typ 1-list


Typ 2 křídla

Typy otevření


Typ otevření 1-list


Typ otevírání 2-listé

TYPY MONTÁŽE A POŽADAVKY NA PROSTOR

Standardní montáž na stěnu nadpraží (standard)

Standardní montáž na stěnu nadpraží se skrytým kouřovým těsněním

Instalace podhledu pod omítku se stávajícím nadpražím

Instalace podhledu pod omítku s nadpražím

POŽADOVANÉ POŽÁRNÍ STĚNY NEBO MINIMÁLNÍ TLOUŠŤKY STĚN 1 KŘÍDLO

POŽADOVANÉ POŽÁRNÍ STĚNY NEBO MINIMÁLNÍ TLOUŠŤKY STĚN 1 KŘÍDLO

 

Typ dveří

EI2 30/ EI2 60/ EI2 90

EI2 120

Montáž nadpraží
(železobeton)

Tupý
Montáž na strop

Montáž nadpraží
(železobeton)

Tupá
montáž stropu

Velikost dveří →

 

Typ stěny



≤ LD 8,500 x 6,0001); max. 50 m²



≤ LD 8,500 x 6,0001); max. 50 m²


≤ LD 4 670 x 4 560




≤ LD 8 500 x 6 0001); max. 50 m²



< LD 4 670 x 4 560




≤ LD 8 500 x 6 0001); max. 50 m²

Zdivo DIN EN 1996-1-1,
Třída pevnosti v tlaku > 12,
Železobetonové nadpraží

≥ 1752)

≥ 1752)

≥ 1752)

≥ 2402)

≥ 1752)

≥ 2402)

Beton DIN EN 1992-1-1, třída pevnosti
> C12/ C15

≥ 140

≥ 140

≥ 140

≥ 140

≥ 140

≥ 140

Pórobetonový blok nebo lícová cihla
DIN EN 771-4, třída pevnosti v tlaku
4, podle DIN
V 4165-100 Železobetonové nadpraží v
otvoru a parkovací plochy

≥ 1752)

≥ 1752)

≥ 1752)

≥ 2402)

≥ 1752)

≥ 2402)

Železobetonové desky z pórobetonu
DIN EN 4166 min.
Třída objemové hmotnosti > 0,55 nebo
Třída pevnosti P4,4, železobetonový překlad
v otvoru a
parkovací ploše

≥ 1752)

≥ 1752)

≥ 1752)

≥ 2402)

≥ 1752)

≥ 2402)

Ocelové sloupky s opláštěním/
Ocelové nosníky/ třída požární odolnosti
EI 90/ EI 120

Podle statických požadavků

POŽADOVANÉ POŽÁRNÍ STĚNY NEBO MINIMÁLNÍ TLOUŠŤKY STĚN 2-LISTÉ

POŽADOVANÉ POŽÁRNÍ STĚNY NEBO MINIMÁLNÍ TLOUŠŤKY STĚN 2-LISTÉ

 

Typ dveří

EI2 30/ EI2 60/ EI2 90

EI2 120

Montáž nadpraží
(železobeton)

Tupý
Montáž na strop

Montáž nadpraží
(železobeton)

Tupá
montáž stropu

Velikost dveří →

 

Typ stěny



≤ LD 8,500 x 6,0001); max. 50 m²



≤ LD 8,500 x 6,0001); max. 50 m²


≤ LD 4 670 x 4 560




≤ LD 8 500 x 6 0001); max. 50 m²



< LD 4 670 x 4 560




≤ LD 8 500 x 6 0001); max. 50 m²

Zdivo DIN EN 1996-1-1,
Třída pevnosti v tlaku > 12,
Železobetonové nadpraží

≥ 1752)

≥ 1752)

≥ 1752)

≥ 2402)

≥ 1752)

≥ 2402)

Beton DIN EN 1992-1-1, třída pevnosti
> C12/ C15

≥ 140

≥ 140

≥ 140

≥ 200

≥ 140

≥ 200

Pórobetonové tvárnice nebo lícové cihly
DIN EN 771-4, třída pevnosti v tlaku
4, podle DIN
V 4165-100 Železobetonové nadpraží v
otvoru a parkovací plochy

≥ 1752)

≥ 1752)

≥ 1752)

≥ 2402)

≥ 1752)

≥ 2402)

Železobetonové desky z pórobetonu
DIN EN 4166 min.
Třída objemové hmotnosti > 0,55 nebo
Třída pevnosti P4,4, železobetonový překlad
v otvoru a
parkovací ploše

≥ 1752)

≥ 1752)

≥ 1752)

≥ 2402)

≥ 1752)

≥ 2402)

Ocelové sloupky s opláštěním/
Ocelové nosníky/ třída požární odolnosti
EI 90/ EI 120

Podle statických požadavků


1) U šířek nad 7 305 mm (rozměr otvoru) musí být vzdálenost upevnění mezi konzolami snížena na 500 mm. 2)
Průchozí instalace nebo instalace hmoždinek 10 x 100 mm na vstupním a stěnovém těsnění Poznámka: Pozor!
U pórobetonu je v oblasti otvoru a uzávěru povinný železobetonový nadpraží. Všechny rozměry v mm.

Montáž

Snadná montáž

Posuvné protipožární dveře NovoSlide Industry lze instalovat obzvláště rychle. Promyšlené technické detaily proces výrazně urychlují. Některé příklady si prohlédněte zde. Veškeré podrobnosti naleznete v podrobném návodu k instalaci.

Příklady snadné montáže

Příklady snadné montáže

Jednoduchá instalace díky upevnění na jednu konzolu se zvětšenou vzdáleností upevnění v oblasti zavírání i otevírání 750 mm (> 7 305 mm: 500 mm). Jednoduché vyrovnání tolerance při montáži díky otvorům s drážkami v konzole a kolejnici.

Menší složitost díky převážně prefabrikovaným komponentům ve výrobním závodě, ve kterých jsou již například namontovány požadované pěnové lišty a těsnicí profily.

Jednoduché vyrovnání panelů v pojezdové dráze díky samostatnému vozíku pro každý panel.

Spojení panelů mezi sebou pomocí jednostranného šroubového spoje na neviditelné straně stěny (rozteč šroubů < 625 mm).

Všechny šroubové přípojné body jsou z výroby předděrované.

Snadná instalace, zjednodušené vedení ocelového lana pro zavírací závaží. Standardně v oblasti vstupu, volitelně je možné v oblasti zavírání vrat.

Snadné a rychlé vyrovnání nerovných podlah pomocí výškově nastavitelného koncového profilu.

Speciální geometrie koleček vyrovnává nerovnosti v oblasti stěn a nadpraží.

Standardně je součástí dodávky jednoduchý kryt pojezdové dráhy, který není shora viditelně přišroubován. Je v jedné rovině se skříní protizávaží.

V případěSa a S200 není na místě nutné těsnění panelu silikonem, protože těsnění ve spojích panelu je již zajištěno integrovanými těsněními.

Vzbudili jsme váš zájem?

Novoferm spolupracuje s širokou sítí specializovaných prodejců v Německu - ve vašem okolí. Naši autorizovaní specializovaní prodejci Novoferm nabízejí odborné poradenství, prodej, měření, montáž, demontáž a ekologickou likvidaci našich výrobků za konkurenceschopné ceny all-inclusive.

Rádi vám pomůžeme.