SYSTÉMY PROFILOVÝCH RÁMŮ NOVOFERM Z OCELI

NEU - NOVOFIRE STEEL

S produktem NovoFire® Steel uvádí společnost Novoferm na trh první dveře s ocelovým trubkovým rámem vyvinuté a vyrobené ve vlastní režii, které jsou schváleny jako požární a kouřotěsný uzávěr. Nové dveře přesvědčí mnoha svými výhodami: Inovativní geometrie profilu umožňuje elegantní design a velkou flexibilitu z hlediska konstrukce, zasklení, kování a dodatečné montáže s dalšími schválenými komponenty. Systém se vyznačuje také jednoduchou montáží a je vysoce hodnocen z hlediska udržitelnosti, protože je založen na recyklovatelné oceli.


Pro moderní výstavbu nemovitostí jsou dveřeNovoFire® Steel s trubkovým rámem založeny na ocelových profilech s konstrukční hloubkou 65 mm a tloušťkou materiálu 1,8 mm. Tato řada se vyznačuje spolehlivou ochranou proti požáru a/nebo kouři, jakož i širokými možnostmi použití, flexibilní konfigurací a jednoduchou montáží.


Vysoká funkčnost K dispozici jako protipožární dveřeNovoFire® Steel T30 (EI 30 S200 C5) a jako kouřotěsné dveře NovoFire® Steel RS (S200). Naše dveře nabízejí snadnou montáž a jemné nastavení díky promyšleným detailům (včetně jedinečné multifunkční drážky pro snadnou montáž a jemné nastavení kování atd.)


Udržitelný život Základní profil dveří Novoferm s trubkovým rámem je vyroben ze 100% recyklovatelné oceli a je vždy zapuštěn do zdi. Dveře lze také snadno dovybavit různými komponenty. Díky tomu lze systém následně přizpůsobit měnícím se požadavkům.

Porovnání a vlastnosti dveří

Srovnání dveří s ocelovým trubkovým rámem
Označení dveří

Schválení /
zkušební certifikát

Rám
materiál

T30
(EI2 30)

T90
(EI2 90)

Kouř
ochrana

RC 2

RC 3

Teplo
izolační

NovoFire Steel
RS

P-5022 DMT DO

ocel

-

NovoFire Steel
T30

-

Ocel

-

-

NovoFire Steel
F30

-

Ocel

-

Forster fuego
T90

Z-6.20-1881

ocel

-

-

Forster fuego
F90

Z-19.14-1973

ocel

-

Forster unico

-

ocel

-

-

-

Forster unico
EI30


Vysvětlení výkonu

ocel

-

-

-

Podrobnosti NovoFire Steel

Podrobnosti NovoFire Steel

ŽE RUKOJEŤ NOVOFIRE®


NOVOFIRE® STEEL T30 A NOVOFIRE® STEEL RS Trubkové rámové dveřeNovoFire® Steel jsou založeny na ocelových profilech s konstrukční hloubkou 65 mm a tloušťkou materiálu 1,8 mm. Tato řada se vyznačuje spolehlivou ochranou proti požáru a/nebo kouři, jakož i širokými možnostmi použití, flexibilní konfigurací a jednoduchou montáží. Dveře NovoFire® Steel, které jsou k dispozici jako protipožární dveře NovoFire® Steel T30 (EI 30 S200 C5) a kouřotěsné dveře NovoFire® Steel RS (S200), splňují různé bezpečnostní požadavky.

NovoFire® Steel T30 zaručují 30minutovou dobu požární odolnosti a během této doby zabraňují šíření ohně i kouře. Bezpečnou ochranu proti požáru zajišťuje intumescentní pásek "Promaseal", který je integrován do pryžového profilu dveřního falce. NovoFire® Steel RS se doporučuje v situacích, kdy je vyžadována pouze ochrana proti kouři. Tento systém, testovaný podle norem DIN 18095 a DIN EN 1634-3, úspěšně zabraňuje průchodu kouře a tvoří tak spolehlivé uzavření místnosti.

[1] Dobrý vzhled díky funkčnímu panelu v oblasti zádveří, pro ochranu proti kouři a požáru.

[2] Možnost široké škály variant zasklívací lišty, včetně oboustranné zasklívací lišty.

[3] Základní profil je vyroben ze 100% recyklovatelné oceli a je vždy zapuštěn do zdi

[4] Jedinečná multifunkční drážka umožňuje snadnou montáž a jemné nastavení kování

TO HOVOŘÍ VE PROSPĚCH NOVÝCH DVEŘÍ S OCELOVÝM TRUBKOVÝM RÁMEM NOVOFIRE® OD SPOLEČNOSTI NOVOFERM.

NovoFire® Steel spojuje desítky let zkušeností s výrobou dveří s trubkovým rámem a s ochranou proti požáru a kouři v jednom systému. Výsledkem je systém, který se vyznačuje nejen vysokou úrovní bezpečnosti v případě nouze, ale umožňuje i další aplikace, jako je automatizace, antipaniková funkce, kontrola přístupu nebo zvuková izolace.

K mnoha výhodám patří

  • Jednoduchá instalace
  • vynikající design, velká flexibilita a robustnost díky inovativní geometrii profilů


  • Velkorysé rozměry1 křídlo: 1 560 mm x 3 000 mm2 křídla: 3 000 mm x 3 000 mm
  • Rozšiřující profily pro zvětšení vnějších rozměrů rámu
  • Různá protipožární skla a panely s různými výplněmi
  • Vysoká rozměrová stabilita v případě požáru (NovoFire® Steel T30)
Detaily ocelových systémů

Detaily ocelových systémů

SYSTÉMY RÁMŮ Z OCELOVÝCH PROFILŮ NOVOFERM NABÍZEJÍ BEZPEČNOST A POHODLÍ UVNITŘ I VENKU

Systémy profilových rámů Novoferm z oceli jsou ideálními komponenty pro bezpečné a zároveň esteticky propracované aplikace v oblasti kouřových a protipožárních uzávěrů.

Statické vlastnosti základního materiálu umožňují vytvářet bezkonkurenční filigránské konstrukce s elegantně úzkými šířkami čel.

Kromě "Presto RS" pro kouřotěsné aplikace a "Fuego light" pro protipožární aplikace - obě jsou určeny pro použití v interiéru - nabízíme také "Unico", profilovou konstrukci pro stavbu venkovních dveřních systémů.

Co je na něm zvláštního: díky inovativnímu tepelnému přerušení, které se zcela obejde bez plastu, je tento systém plně recyklovatelný.

Volitelné válečkové závěsy jsou přivařeny a zajišťují tak zvláštní stabilitu a dobrý design.

Uzavřené profily zdůrazňují vysokou kvalitu výroby



POPISSYSTÉMU "PRESTO" A "FUEGO LIGHT "* Dveřní prvek z pozinkovaných přesných ocelových trubek. Dveře jsou testovány jako kouřotěsné dveře s použitím automaticky spouštěného podlahového těsnění podle normy DIN 18095. Čelní šířka rámu a křídla 130 mm, výška soklu 50, 70 - 420 mm, montážní hloubka 50 mm. Rozměr neaktivního křídla nesmí být u dvoukřídlých dveří menší než 500 mm. Jednotky připravené pro průchozí nebo přivařenou montáž.


KOVÁNÍ Zápustný zámek, připravený pro profilovou vložku, páková klika nebo vyměnitelné kování s oválnou rozetou z hliníku, nerezové oceli nebo PVC-U možné. Neaktivní křídlo je standardně drženo horním uzamykacím mechanismem aktivního křídla, alternativně je možná antipaniková funkce podle DIN EN 179 nebo DIN EN 1125. Zavírače horních dveří s vodicí lištou podle DIN EN 1154, např. GEZE TS 5000 / Dorma TS 93, integrované systémy zavírání dveří (GEZE Boxer / Dorma ITS 96), pohon křídlových dveří podle DIN 18263 / DIN 18650.



Závěsy Dva dvoudílné ocelové přivařované závěsy na křídlo, nastavitelné ve třech rozměrech; pokud jsou vrata vybavena pohonem křídlových vrat, doporučujeme tři závěsy. Možné i jiné varianty závěsů, jako jsou šroubovací závěsy, válečkové závěsy, integrované závěsy.


POVRCH Práškově lakovaný základní nátěr RAL 9002 (šedobílá) nebo na přání finální lakování (RAL Classic dle vašeho výběru).


SKLO Bezpečnostní sklo VSG nebo ESG. Varianty zasklení a výplní panelů, profily s jednostranným zasklívacím rámečkem a zasklívacími lištami na opačné straně závěsu, suché zasklení s těsněním EPDM.


PEVNÁ ZASKLENÍ Zapuštěné napojení na dveře, alternativně je možné i samostatné, volitelně zkosené nebo s T-úhelníkovým napojením.
Sloupky rámu musí probíhat nepřerušovaně po celé výšce pevného zasklení.

Ocel jako materiál pro kvalitu a životní prostředí

Ocel jako materiál pro kvalitu a životní prostředí

OCEL JAKO MATERIÁL - VÝHODA PRO KVALITU A ŽIVOTNÍ PROSTŘEDÍ

Stavebnictví stále hledá nové strategie, jak pracovat co nejšetrněji k životnímu prostředí. Příkladem může být upřednostňování renovací před novou výstavbou nebo upřednostňování surovin z regionu, aby se zkrátily dopravní cesty. Důležitou roli však hraje i opětovné využití materiálů. Zde je obzvláště vhodná ocel, protože tento materiál lze stoprocentně recyklovat.


To je jeden z důvodů, proč společnost Novoferm uvedla na trh protipožární a kouřotěsné dveře NovoFire® Steel vyrobené z oceli, které tuto výhodu využívají a nabízejí dodatečnou udržitelnost.

TŘI NEJDŮLEŽITĚJŠÍ VÝHODY OCELI


100% RECYKLOVATELNÁ Ocel lze použít neomezeněkrát, protože tento materiál lze recyklovat tak často, jak je potřeba, aniž by došlo ke ztrátě kvality. Staré ocelové komponenty proto nejsou odpadem, který je třeba zlikvidovat, ale základem pro nové výrobky.


EFEKTIVNÍ VYUŽITÍ MATERIÁLU Ocel nabízí vysokou úroveň robustnosti i při velmi jemné geometrii. To je částečně dáno jejím vysokým modulem pružnosti a částečně tím, že ocel lze svařovat. To znamená, že lze vyrábět velmi odolné výrobky s použitím relativně malého množství materiálu.


TRVALOST Díky své vynikající trvanlivosti zůstávají ocelové systémy v provozu po dlouhou dobu. Tím se výrazně snižuje spotřeba materiálu a energie, která by vznikla, kdyby bylo nutné systém vyměnit.

UDRŽITELNOST OD NOVOFERMU


Spotřebujte méně, dosáhněte více: Efektivní využívání energie a dalších zdrojů je nedílnou součástí naší firemní kultury, stejně jako neustálá optimalizace výrobků a procesů z hlediska udržitelnosti. To nám umožňuje nabízet našim zákazníkům řešení, s nimiž lze spolehlivě realizovat moderní požadavky na udržitelnost.


Stejně jako u systému NovoFire® Steel: Tento systém je nejen vyroben z recyklovatelné oceli, ale díky své systémové kompatibilitě, jednoduchým možnostem dodatečné montáže a trvanlivosti šetří i důležité zdroje.

ČTYŘNÁSOBNÁ UDRŽITELNOST S OCELÍ NOVOFIRE®


KOMPATIBILITA SYSTÉMU Použití standardizovaného kování z osvědčeného hliníkového systémuNovoFire® šetří zdroje, optimalizuje efektivitu nákladů a zaručuje bezpečnost na základě dlouholetých zkušeností s příslušnou technologií.


ROZŠÍŘITELNOSTNovoFire® Steel lze snadno dovybavit různými komponenty. Díky tomu lze systém následně přizpůsobit měnícím se požadavkům. Kompletní výměna není nutná.


ROBUSTNOST SystémNovoFire® Steel se vyrábí speciálním výrobním postupem. Profily jsou vyrobeny ze žárově pokoveného plechu, což zaručuje vysokou odolnost proti korozi, a to i v dutých komorách.


ENVIRONMENTÁLNÍ PROHLÁŠENÍ VÝROBKŮ Systémy rámů z ocelových profilů Novoferm jsou vyráběny způsobem šetrným k životnímu prostředí, což dokládají různá prohlášení nebo ověření výrobků, včetně ISO 14025, EN 15804, ISO 14001 a v souladu s kritérii BREEAM, DGNB a LEED.

Nejdůležitější informace "NovoFire Steel"

Tato animace představuje vizuálně přitažlivou a zhuštěnou formou nejdůležitější vlastnosti dveří Novoferm s ocelovými trubkovými rámy "NovoFire Steel".

Další animace najdete na adrese

https://www.youtube.com/NovofermVideos

Přehled vašich plusových bodů

  • Dveře s trubkovým ocelovým rámem vyvinuté a vyráběné ve vlastní režii za atraktivní ceny
  • K dispozici jako protipožární dveře NovoFire Steel T30 / EI 30, Forster Fuego T90 / EI 90 a jako kouřotěsné dveře NovoFire Steel RS.
  • Jednoduchá montáž a jemné nastavení díky promyšleným detailům (např. jedinečná multifunkční drážka umožňuje snadnou montáž a jemné nastavení kování, ...).
  • Udržitelnost díky základním profilům ze 100% recyklovatelné oceli.
  • Ocelové profily s konstrukční hloubkou 65 mm a tloušťkou materiálu 1,8 mm.

     

  • Intumescentní "protipožární pásek", který je integrován do pryžového profilu dveřního falce, zajišťuje spolehlivou protipožární ochranu.
  • K dispozici až do velikosti BRM 1 560 x 3 000 mm (jednokřídlé) nebo 3 000 x 3 000 mm (dvoukřídlé).
  • Lze kombinovat s bočními panely a/nebo větracími okny
  • Různá ohnivzdorná skla a panely s různými výplněmi
  • Velký výběr variant zasklívacích lišt, součástí kování a dalšího kování

Technologie a podrobnosti

Technická data NovoFire Steel RS
Třída odolnosti

RS

Typové označeníNovoFire® Steel
RS-1
NovoFire® Steel
Kombinované dveře RS-1
NovoFire® Steel
RS-2
NovoFire® Steel
Dveře RS s
pevným prosklením
Modely
Svislé zasklívací lišty na křídlo

1

1

1

Jakékoli

Vodorovné zasklívací lišty na křídlo

2

2

2

Jakékoli

Dělení panelů
Svahy

-

-

-

-

Kulaté oblouky

-

-

-

-

Výklenky

-

-

-

-

úhelník

-

-

-

-

Rozšíření

-

-

-

-

Rozměry
Celkové rozměryŠířka: min. - max.

625 - 1840*

≤ 3840*

1350 - 3280*

Neomezené 1)

Výška: min. - max.

1750 - 3140*

≤ 4140*

1750 - 3140*

≤ 4160

Vnější rozměry rámuŠířka: min. - max.

585 - 1800*

2585 - 3800*

1310 - 3240*

Neomezeně 1)

Výška: min. - max.

1730 - 3120*

2730 - 4120*

1740 - 3120*

≤ 4000

 


Volný průchod s úhlem otevření 180°

Šířka: min. - max.

431 - 1406

431 - 1406

1156 - 2846

-

Výška: min. - max.

1653 - 2923

1653 - 2923

1653 - 2923

-

Min. šířka otvoru GF:

-

-

500

-

Max. Šířka otevření GF:

-

-

1474

-

Dveřní křídlo
Konstrukční hloubka

65

65

65

64

Zobrazit

140

140 - 160

140

73

Výška podstavce

93

93

93

73 - 93

Lepený profil podběhu/příčníku

20 - 100/ 93

20 - 100/ 93

20 - 100/ 93

20 - 100/ 93

Stěny
Zdivo

≥ 150

≥ 150

≥ 150

≥ 150

Beton

≥ 100

≥ 100

≥ 100

≥ 100


Pórobetonové tvárnice nebo ploché tvárnice (pevnostní třída 4)

≥ 150

≥ 150

≥ 150

≥ 150


Pórobetonové desky podle schválení (třída pevnosti 4.4)1)

≥ 150

≥ 150

≥ 150

≥ 150


Montážní stěny (výška ≤ 5 m) ocelové, s oboustranným obkladem2)

≥ 100

≥ 100

≥ 100

≥ 100


Dřevěný rám na svornících (výška ≤ 5 m) s oboustranným obložením2)

≥ 130

≥ 130

≥ 130

≥ 130

Opláštěné ocelové podpěry

-

-

-

-

Opláštěné dřevěné sloupy

-

-

-

-

Kombinované zasklení/dveře

-

-

-

-

Z-rám

-

-

-

-

Výplně
VSG nebo ESG

-

-

-

-

Panel

-

-

-

-

 

Těsnění na sklo


Suché zasklení (gumové těsnění)

-

-

-

-


Mokré zasklení (obkladová páska)

-

-

-

-

Varianty provedení
S vějířovým světlem a bočním panelem

-

-

-

-

Se světlíkem

-

-

-

-

S bočním panelem

-

-

-

-

Konstrukce zvukové izolace max. Rw,P (Rw,R)

42 (37)

-

42 (37)

-

AbP č. Osvědčení o zkoušce obecného stavebního úřadu

P-5022 DMT DO

P-5022 DMT DO

P-5022 DMT DO

1)


- = Možné - = Není možné RAM = Vnější rozměry rámu Všechny rozměry v mm.




* Včetně rozšíření rámu (max. 120 mm, vpravo vlevo a nahoře). 1) Kouřotěsné zasklení není označeno. 2) Pórobetonové panely, pokud mají všeobecné schválení. 3) Statika konstrukce stěny musí být přizpůsobena hmotnosti dveřního křídla.

Technická data NovoFire Steel T30 / EI 30
Třída odolnosti

T30

Typové označení

NovoFire® Steel
T30-1

NovoFire® Steel
Kombinované dveře T30-1

NovoFire® Steel
T30-2

NovoFire® Steel
F30 s T30

Modely
Svislé tyče na křídlo

1

1

1

Jakýkoli

Vodorovné zasklívací lišty na křídlo

2

2

2

Jakékoli

Dělení panelů
Svahy

-

-

-

-

Kulaté oblouky

-

-

-

-

Výklenky

-

-

-

-

úhelník

-

-

-

-

Rozšíření

-

-

-

-

Rozměry
Celkové rozměryŠířka: min. - max.

625 - 1840*

≤ 3840*

1350 - 3280*

Neomezený počet

Výška: min. - max.

1750 - 3140*

≤ 4140*

1750 - 3140*

≤ 4160

Vnější rozměry rámuŠířka: min. - max.

585 - 1800*

2585 - 3800*

1310 - 3240*

Neomezený počet

Výška: min. - max.

1730 - 3120*

2730 - 4120*

1740 - 3120*

≤ 4000

 


Volný průchod s úhlem otevření 180°

Šířka: min. - max.

431 - 1406

431 - 1406

1156 - 2846

-

Výška: min. - max.

1653 - 2923

1653 - 2923

1653 - 2923

-

Min. šířka otvoru GF:

-

-

500

-

Max. Šířka otevření GF:

-

-

1474

-

Dveřní křídlo
Konstrukční hloubka

65

65

65

64

Zobrazit

140

140 - 160

140

73

Výška podstavce

93

93

93

73 - 93

Lepený profil podběhu/příčníku

20 - 100/ 93

20 - 100/ 93

20 - 100/ 93

20 - 100/ 93

Stěny
Zdivo

≥ 150

≥ 150

≥ 150

≥ 150

Beton

≥ 100

≥ 100

≥ 100

≥ 100


Pórobetonové tvárnice nebo ploché tvárnice (pevnostní třída 4)

≥ 150

≥ 150

≥ 150

≥ 150


Pórobetonové desky podle schválení (třída pevnosti 4.4)1)

≥ 150

≥ 150

≥ 150

≥ 150


Montážní stěny (výška ≤ 5 m) ocelové, s oboustranným obkladem2)

≥ 100

≥ 100

≥ 100

≥ 100


Dřevěný rám na svornících (výška ≤ 5 m) s oboustranným obložením2)

-

-

-

-

Opláštěné ocelové sloupy

-

-

-

-

Opláštěné dřevěné sloupy

-

-

-

-

Kombinované zasklení/dveře

-

-

-

-

Z-rám

-

-

-

-

Výplně
VSG nebo ESG

-

-

-

-

Panel

-

-

-

-

 

Těsnění na sklo


Suché zasklení (gumové těsnění)

-

-

-

-


Mokré zasklení (obkladová páska)

-

-

-

-

Varianty provedení
S vějířovým světlem a bočním panelem

-

-

-

-

Se světlíkem

-

-

-

-

S bočním panelem

-

-

-

-

Konstrukce zvukové izolace max. Rw,P (Rw,R)

42 (37)

-

42 (37)

-

AbP č. Osvědčení o zkoušce obecného stavebního úřadu

Z-6.20-... 3)

Z-6.20-... 3)

Z-6.20-... 3)

Z-6.20-... 3)


- = Možné - = Není možné RAM = Vnější rozměry rámu Všechny rozměry v mm.



* Včetně rozšíření rámu (max. 120 mm, vpravo vlevo a nahoře). 1) Pórobetonové panely, pokud mají všeobecné schválení. 2)
Statika konstrukce stěny musí být přizpůsobena hmotnosti křídla dveří. 3) V procesu schvalování.

Technická data Forster Fuego T90 (EI 90)
Třída odolnosti

T90 (EI2 90) / F90

Typové označení

Fuego light
T90-1

Fuego light
T90-2

Fuego light
F90

Rozložení prvků
Svahy

-

-

-

Kruhové oblouky

-

-

-

Výklenky

-

-

-

úhelník

-

-

-

Rozšíření

-

-

-

Rozměry

Celkové rozměryŠířka min. - max.

740 - 1580

1440 - 2530

neomezené ¹)

Výška min. - max.

1745 - 2590

1745 - 2590

4020

Výška (s vějířovým světlem)

1845 - 4020

1845 - 4020

-

Vnější rozměr rámuŠířka min. - max.

700 - 1540

1400 - 2490

neomezený ¹)

Výška min. - max.

1725 - 2570

1725 - 2570

4000

Výška (s vějířovým světlem)

1825 - 4000

1825 - 4000

-


Světlý průchod s úhlem otevření 180°
Šířka min. - max.

560 - 1400

1260 - 2350

-

Výška min. - max.

1655 - 2500

1665 - 2500

-

Dveřní křídlo

Stavební hloubka

70

65

65

Zobrazit

130

130 / 150

70 / 90

Výška podstavce

90, 140-340

90, 140-340

90, 140-340

Příčný profil

90

90

90

Lepené příčky

30, 50 (až 200)

30, 50 (do 200)

30, 50 (do 200)

Stěny
Zdivo

≥ 175 ²)

≥ 175 ²)

≥ 175

Beton

≥ 140 ³)

≥ 140 ³)

≥ 140

Pórobetonové tvárnice nebo rovinné bloky

≥ 240 4)

≥ 240 4)

≥ 240

Pórobetonové desky

≥ 150 4)

≥ 150 4)

≥ 150


Sloupové stěny Příčníky a ocelové sloupky

≥ 100 ³) 4)

≥ 100 ³) 4)

≥ 100 ³) 4)


Dřevěné kolíkové stěny, příčníky a sloupky

-

-

-

Opláštěný ocelový prvek

-

-

-

opláštěný dřevěný prvek

-

-

-

Kombinované dveře/prosklení

-

-

-

Z-rám

-

-

-

Výplně

Pyrostop 90-102 max. Šířka x výška


1304 x 2364 2364 x 1304


1304 x 2364 2364 x 1304


1350 x 2800 2350 x 1400

Panel, max. šířka x výška

1064 x 2184

1064 x 2184

1305 x 2185

Sklo / panel

-

-

-

Skleněná vložka

Mokré zasklení

-

-

-

Suché zasklení

-

-

-

Varianty provedení

s vějířovým světlem a bočním panelem

-

-

-

s ventilátorem

-

-

-

s bočním panelem

-

-

-



Kouřotěsné dveře podle DIN 18095 a DIN EN 1634 - část 3 (v kombinaci s DIN 4102)

-

-

-


Konstrukční maximum zvukové izolace Rw,P (Rw,R)

-

-

-

Odolnost proti vloupání

-

-

-

Součinitel prostupu tepla Uf

-

-

-


Čísla osvědčení o zkoušce/schválení

Z-6.20-1881

Z-6.20-1881

Z-19.14-1973

Zkoušeno podle

DIN 4102 a DIN EN 1634





- možné - nemožné ¹) dle statických požadavků ²) do RAM 2400 x 2600 s větracím světlíkem a boční částí, pro zdivo 240 RAM do 4500 x 3500, do výšky 4000 pouze s větracím světlíkem ³) do RAM 4500 x 3500 s větracím světlíkem a boční částí, do výšky = 4000 pouze s větracím světlíkem 4) Dutý ocelový profil min. 50 x 50 x 4 nutný
Všechny rozměry v mm, RAM = vnější rozměry rámu.
Vnější uzávěry z technické oceli
Třída odolnosti

Tepelně izolované vnější uzávěry

Typové označení

Dveře s 1 křídlem

Dvoukřídlé dveře

Prosklení ²)
tepelně izolované

Uspořádání prvků

Svahy

-

-

-

Kulaté oblouky

-

-

-

Výklenky

-

-

-

Úhelník

-

-

-

Rozšíření

-

-

-

Rozměry

Celkové rozměry

Šířka min. - max.

6300 - 1530

1500 - 2400

neomezený ¹)

Výška min. - max.

1765 - 3015

1740 - 2400

5000 ¹)

Vnější rozměr rámu

Šířka min. - max.

600 - 1500

1400 - 3000

neomezený ¹)

Výška min. - max.

1750 - 3000

1750 - 3000

5000 ¹)

Světlý průchod

Šířka min. - max.

460 - 1360

1260 - 2860

-

s úhlem otevření 180°

Výška min. - max.

1680 - 2930

1680 - 2930

-

Dveřní křídlo

Stavební hloubka

65

65

65

Zobrazit

130

130 / 150

70 / 90

Výška podstavce

70, 90, 140 - 340

70, 90, 140 - 340

70, 90, 140 - 340

Profil příčníku

90

90

90

Lepené příčky

30, 50, (až 400)

30, 50, (do 400)

30, 50, (do 400)

Stěny

-

-

-

Zdivo

-

-

-

Beton

-

-

-

Pórobetonové tvárnice nebo ploché bloky

-

-

-

Pórobetonové desky

-

-

-

Stěny z trnů

-

-

-

Opláštěný ocelový prvek

-

-

-

opláštěný dřevěný prvek

-

-

-

Kombinované dveře / prosklení

-

-

-

Z-rám

-

-

-

Výplně

Tloušťka zasklení 4)

20-54 mm

Panel

-

-

-

Sklo / panel

-

-

-

Skleněná vložka

Mokré zasklení

-

-

-

Suché zasklení

-

-

-

Varianty provedení

s vějířovým světlem a bočním panelem

-

-

-

s ventilátorem

-

-

-

s bočním panelem

-

-

-

Třída propustnosti spár

4

4

4

Třída těsnosti při dešti

do 5A

do 5A

-

Zvuková izolace

47 dB

47 dB

47 dB

Odolnost proti vloupání

WK 1-3

WK 1-3

-

Součinitel prostupu tepla Uf

> 1,4-1,9 W/m²K

> 1,4 - 1,9 W/m²K

> 1,4 - 1,9 W/m²K

Označení CE podle normy EN 14351-1

-

-

-

Testováno podle

DIN 4102 a DIN EN 1634





- možné - nemožné ¹) dle statických požadavků ²) bez fasády, bez výklopně-kyvných oken ³) možné i jiné rozměry 4) K dispozici jsou všechna běžně dostupná skla
Všechny rozměry v mm, RAM = vnější rozměr rámu

Montáž

JEDNODUCHÁ MONTÁŽ

Níže naleznete výčet mnoha výhod pro jednoduchou montáž a mnoho možností instalace dveří Novoferm NovoFire Steel s trubkovým rámem.

Montáž a jemné nastavení

MONTÁŽ A JEMNÉ NASTAVENÍ - VŠECHNY VÝHODY NA PRVNÍ POHLED

ZASKLÍVÁNÍ

ZaskleníNovoFire® Steel nabízí maximální flexibilitu z hlediska designu, typu skla a technologie zasklení. Dveře mohou být navrženy s jedním nebo dvěma bočními panely a/nebo vějířovými světlíky. Jako výplně lze použít monoskla nebo izolační skla či panely s výplněmi z jiných materiálů. Tloušťka panelů se pohybuje mezi 6 a 34 mm. Dveře NovoFire® Steel mohou být vyrobeny s pevným prosklením samostatně jako U-spojky, v rámové konstrukci nebo jako kombinace obojího.

Co se týče technologie zasklení, je možné jak suché zasklení (černé EPDM těsnění na vnější straně), tak mokré zasklení (se zasklívací páskou).

ROZHODOVÁNÍ

Velký výběr testovaného a schváleného kování neponechává nic náhodě.

Použití standardizovaných komponentů zajišťuje efektivní a hospodárnou výrobu a montáž.

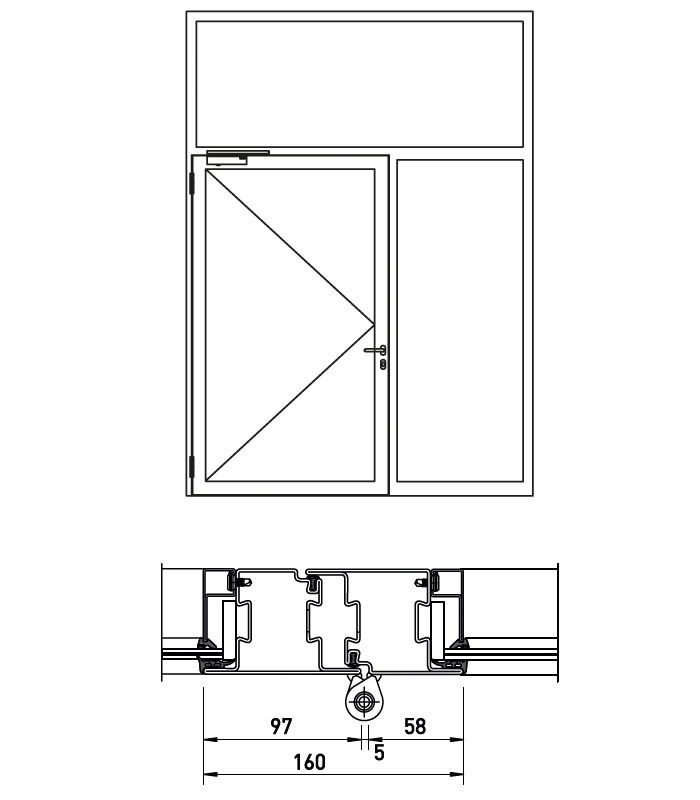
PROFIL

Základem platformy NovoFire® Steel je ocelový profil s konstrukční hloubkou 65 mm a tloušťkou materiálu 1,8 mm.

Díky nové geometrii profilu a multifunkční drážce je kompatibilní s komponenty naší hardwarové platformy napříč systémy. Pravidelné děrované otvory v profilu usnadňují upevnění konstrukce a její spojení s dalšími prvky rámové konstrukce.

Tyto děrované otvory také usnadňují pokládání kabelů pro elektrifikaci dveří, a to jak během výroby, tak později.

KAPELY

NovoFire® Steel T30/ RS využívá nově vyvinutý navařený dveřní závěs, který díky své bezúdržbovosti a snadnému seřízení i po instalaci nastavuje nové standardy.

Kromě toho je na výběr několik provedení závěsů, které splňují všechny funkční požadavky a zároveň zdokonalují design dveří.

ODKLÁDACÍ PLOCHA DVEŘÍ

Funkční kryt z EPDM zajišťuje dobrý vzhled v oblasti dveří. Kryt je k dispozici ve dvou verzích:

Jako varianta pro ochranu proti kouři a jako varianta pro ochranu proti požáru. Kromě bezpečnosti a vzhledu zlepšuje funkční kryt také vlastnosti dveří z hlediska údržby.

Je tomu tak proto, že jak materiál, tak skutečnost, že tento systém nemá žádné profilové hrany, usnadňují čištění a podporují hygienickou čistotu bez zárodků.

KLEMPOVÁ DESKA

Upínací deska umožňuje flexibilní upevnění všech montážních dílů v multifunkční drážce v několika málo krocích.

Následné jemné nastavení kování je možné kdykoli.

PRŮVODCE SLEVOU ESPAGNOLETTE

Jedinečné a jednoduché vodítko udržuje vroubkovanou espagnoletovou tyč ve správné poloze a tlumí cvakání, které způsobuje zamykací tyč při zapadnutí dveří do zámku.

Vodítka lze kdykoli dodatečně namontovat, a to i během provozu.

Varianty instalace a spojování prvků

Varianty instalace a spojování prvků

MONTAGEVARIANTEN

MONTÁŽNÍ KLOUB (E)

Jednotlivé prvky (zasklení, boční panely, větrací okno a dveře) se dodávají samostatně a jsou sešroubovány pomocí předem připravených upevňovacích prvků. Tato varianta je obzvláště snadno přepravitelná.

MONTÁŽNÍ KLOUB (U)

Jednotlivé prvky s předmontovanými zásuvnými spoji pro rychlou a snadnou montáž a přepravu. Pohledy z tenkého profilu zajišťují vysokou míru přehlednosti.

KOMBITÜR

Kompletní prvek se štíhlým profilem pohledů a vysokou průhledností. Prvek nelze demontovat. To usnadňuje a urychluje instalaci, je však třeba počítat s dopravními cestami.

SMÍŠENÁ KONSTRUKCE


Kombinace prefabrikovaných prvků s montážním spojem (E) a (U) pro snadnou montáž ve stísněných prostorech.

RŮZNÉ SPOJE ZASKLENÍ

SPOJOVÁNÍ PRVKŮ

1-flügelig

2-flügelig

U-COPLING

1-flügelig

2-flügelig

SMÍŠENÁ KONSTRUKCE

1-flügelig

2-flügelig

KOMBITÜR

1-flügelig


* Pevné zasklení spojené s dveřmi do tvaru U

SPOJOVÁNÍ PRVKŮ

Jakmile je RAM pevného zasklení (volitelně jako vějířové okno nebo boční část) < 1 000 mm, spojování probíhá prvek po prvku.


U-SKLENĚNÍ Pevné zasklení (volitelně jako vějířové nebo boční okno) může být spojeno s jednokřídlými nebo dvoukřídlými dveřmi ve tvaru U pouze tehdy, pokud RAM pevného zasklení nepřesahuje 1 000 mm. Kromě toho může být boční část pevného zasklení spojena s jednokřídlými nebo dvoukřídlými dveřmi ve tvaru U pouze tehdy, pokud dveře nemají vějířové okno!


ZABLOKOVÁNÍ NAHOŘE Při světlé výšce > 2 423 mm je vyžadován zámek s dodatečným zamykáním nahoře; volitelně lze nainstalovat vícebodový zámek.

Vzbudili jsme váš zájem?

Novoferm spolupracuje s širokou sítí specializovaných prodejců v Německu - ve vašem okolí. Naši autorizovaní specializovaní prodejci Novoferm nabízejí odborné poradenství, prodej, měření, montáž, demontáž a ekologickou likvidaci našich výrobků za konkurenceschopné ceny all-inclusive.

Rádi vám pomůžeme.